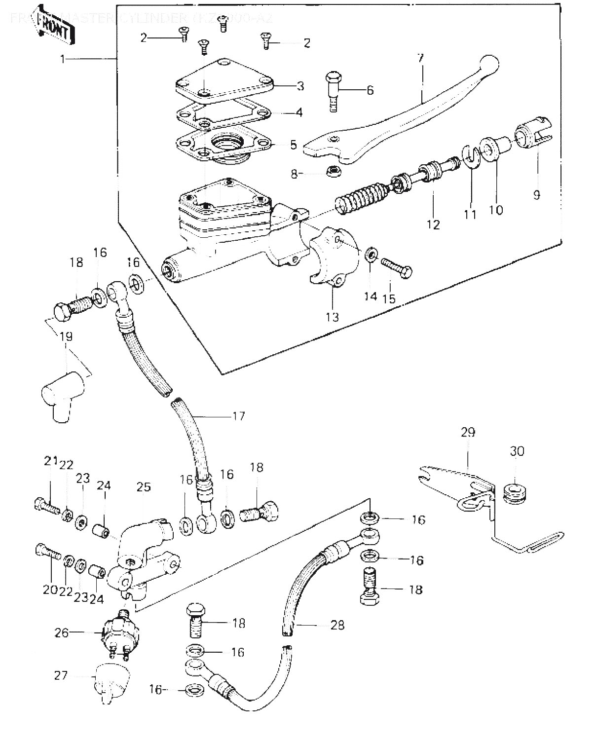
Kawasaki » KZ1000 (1977 KZ1000-A1) » FRONT MASTER CYLINDER (KZ1000-A2

1
43015-1007
CYLINDER ASSY,MASTER
3039:-
2
92001-1055
SCREW,COUNTERSUNK HED, åtgår 4st
*
3
43026-1003
CAP,OIL CUP
523:-
4
43027-1002
PLATE,DIAPHRAGM
*
5
43028-1002
DIAPHRAGM
*
6
92001-1056
BOLT,CLUTCH LEV FITT
*
7
46092-1002
LEVER,FRONT BRAKE
253:-
8
312B0-600
NUT 6MM
*
9
14008-1007
LINER,PISTON
83:-
10
49016-1010
DUST COVER
109:-
11
43022-1001
STOPER,PISTON
41:-
13
43034-1001
HOLDER,MASTER CYLINDR
244:-
14
411B0-600
WASHER PLAIN 6MM, åtgår 2st
*
15
110N0-625
BOLT HEX HEAD 6X25, åtgår 2st
*
16
43067-001
Denna artikel ersätts av 49091-0001
17
43059-007
HOSE,FRONT BRAKE
1364:-
18
92002-1888
Denna artikel ersätts av 92153-0627
19
49006-1041
BOOT,DUST
92:-
20
110N0-645
BOLT,HEX HEAD,6X45
*
21
110N0-636
BOLT HEX HEAD 6X36
*
22
461F0-600
WASHER SPRING 6MM, åtgår 2st
*
23
411B0-600
WASHER PLAIN 6MM, åtgår 2st
*
24
92027-241
Denna artikel ersätts av 92027-162
25
43061-002
JOINT,THREE WAY
756:-
26
43065-001
SWITCH-FRONT BRAKE
483:-
27
11012-1037
CAP,FRONT BRK SWITCH
34:-
28
43059-033
HOSE,CALIPER BRAKE
1276:-
29
11034-1041
BRACKET
343:-
30
43064-006
DAMPER RUBBER,CYL HSE
39:-



* Kontakta kundtjänst för prisuppgift: 018-15 60 00