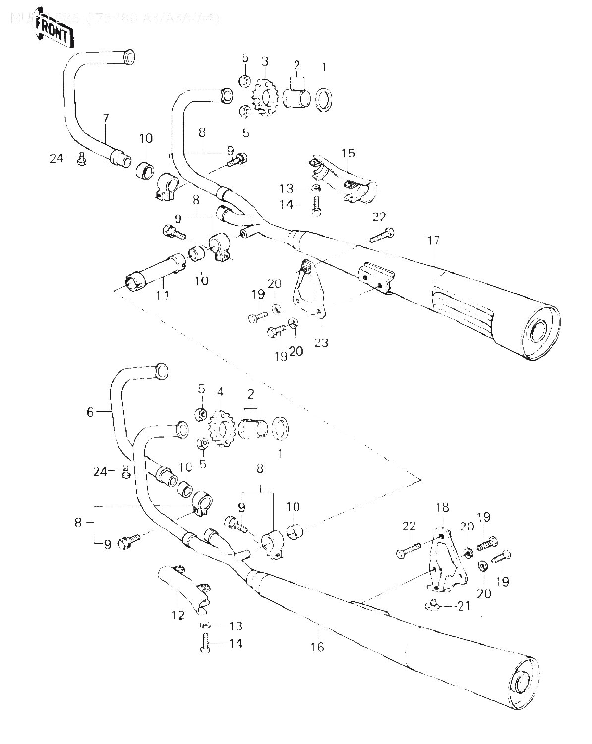
Kawasaki » KZ1000 (1977 KZ1000-A1) » MUFFLERS ('79-'80 A3/A3A/A4)

1
11009-1906
GASKET,EXHAUST PIPE H, åtgår 4st
*
2
92027-170
INSERT,EXHAUST PIPE, åtgår 8st
*
3
18069-1004
HOLDER,EXHAUST PIPE,, åtgår 2st
*
4
18069-1005
HOLDER,EXHAUST PIPE,, åtgår 2st
405:-
5
92017-013
NUT,LOCK,8MM, åtgår 8st
*
6
18049-1089
PIPE,EXHAUST,L.H INN
*
6
18049-1089
PIPE,EXHAUST,L.H INN
*
7
18049-1090
PIPE,EXHAUST,R.H INN
*
7
18049-1090
PIPE,EXHAUST,R.H INN
*
8
92037-1258
CLAMP,MUFFLER, åtgår 4st
124:-
9
92001-1379
BOLT,8X30, åtgår 4st
51:-
10
11060-1068
GASKET,MANIFOLD EXHAU, åtgår 4st
*
11
32032-1676
PIPE,MUFFLER CONNECT
*
12
14025-1134
COVER,MUFFLER,L.H
536:-
13
461F0-600
WASHER SPRING 6MM, åtgår 4st
*
14
220B0-640
SCREW PAN HEAD 6X40, åtgår 4st
*
15
14025-1135
COVER,MUFFLER,R.H
447:-
16
18001-1206
Denna artikel ersätts av 18001-1206
16
18001-1074
Denna artikel ersätts av 18001-1206
17
18001-1207
MUFFLER,RH
*
17
18001-1207
MUFFLER,RH
*
18
32069-1044
BRACKET,MUFFLER
*
19
115B0-814
BOLT-SMALL-UPSET,8X14, åtgår 4st
*
20
461F0-800
WASHER SPRING 8MM, åtgår 4st
*
21
92075-015
DAMPER RUBB MAIN STAD
46:-
22
113N1-060
BOLT-HEX HEAD,10X60, åtgår 2st
*
23
32069-1045
BRACKET,MUFFLER,R.H
*
24
110R0-610
BOLT (6X10), åtgår 4st
*



* Kontakta kundtjänst för prisuppgift: 018-15 60 00