Kawasaki » KZ1000 (1978 KZ1000-D1 Z1R) » CYLINDER/PISTONS/CRANKSHAFT ('78

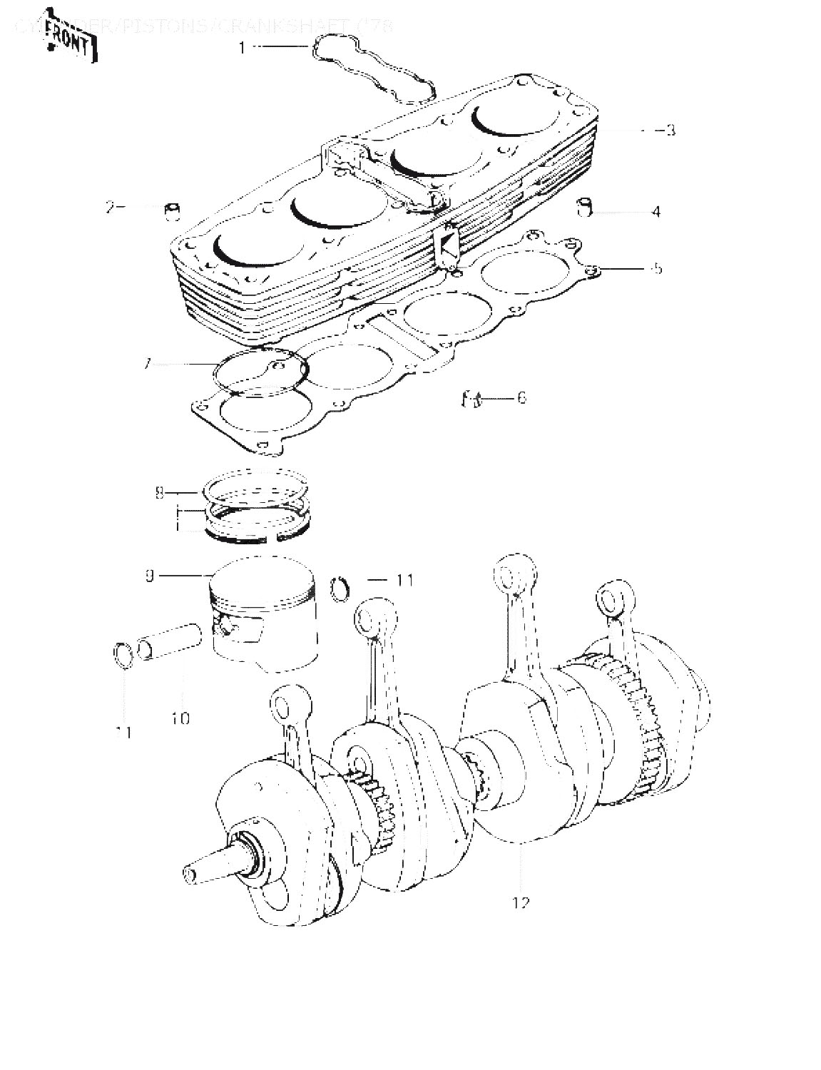
1
92055-062
GASKET,CYLINDER RUBER
965:-
2
92043-1037
PIN,DOWEL,10X8.2X14, åtgår 2st
15:-
3
11005-1009
CYLINDER,FLAT BLACK
*
4
92043-1266
PIN,11X14X12.3, åtgår 2st
18:-
5
11009-030
Denna artikel ersätts av 11060-1579
6
92074-030
RUBBER PLUG,CYLINDER, åtgår 4st
53:-
7
92055-054
"O" RING,73MM, åtgår 4st
127:-
8
13008-5012
RING SET,STD, åtgår 4st
1060:-
8
13025-5007
RING SET,0.020"O/S, åtgår 4st
1257:-
8
13024-5008
RING SET,0.040"O/S, åtgår 4st
1112:-
9
13001-1005
PISTON,S.T.D, åtgår 4st
903:-
9
13029-1003
PISTON,0.020 O/S, åtgår 4st
1650:-
9
13027-1003
PISTON,0.040"0/S, åtgår 4st
1256:-
10
13002-022
PIN-PISTON, åtgår 4st
358:-
11
92036-021
CIRCLIP,PISTON PIN, åtgår 8st
13:-
12
13031-1006
CRANKSHAFT ASSY
17532:-



* Kontakta kundtjänst för prisuppgift: 018-15 60 00