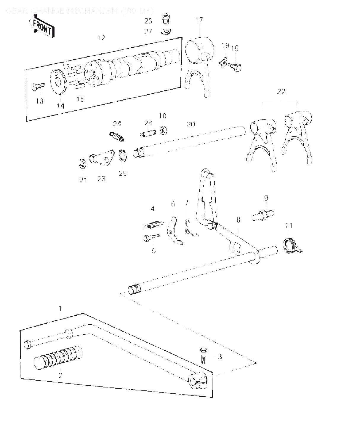
Kawasaki » KZ1000 (1978 KZ1000-D1 Z1R) » GEAR CHANGE MECHANISM ('80 D3)

1
13242-006
PEDAL ASSY,GEAR CHANG
*
2
13157-004
Denna artikel ersätts av 92161-1532
3
112G0-620
BOLT-UPSET,6X20
*
4
92081-051
SPRING CHNG DRUM LEV
*
5
92150-1450
BOLT,CHANGE DRUM LEVE
*
6
13168-024
LEVER,GEAR CHNG DRUM
*
7
92083-018
SPRING,KICK PAWL
78:-
8
13161-029
LEVER ASSY GEAR CHNG
910:-
9
92001-1401
Denna artikel ersätts av 92001-1455
10
312B0-600
NUT 6MM
*
11
92083-028
SPRING,CHG PEDL RTRN
*
12
13239-1015
DRUM ASSY,GEAR CHANGE
5821:-
13
221B0-620
SCREW-CSK-CROS,6X20
*
14
13091-1088
HOLDER,CHANGE DRUM
211:-
15
92042-014
PIN GEAR CHANGE DRUM, åtgår 5st
13:-
16
92042-020
PIN-CHANGE DRUM
46:-
17
13140-046
FORK,SELECTOR,3RD
1438:-
18
92043-016
PIN SELECT FORK GUIDE
142:-
19
92031-001
WASHER LOCK 10MM
78:-
20
49047-1006
ROD,SHIFT
307:-
21
480J1-200
CIRCLIP 12MM
*
22
13140-045
FORK,SELECTOR,4TH&TOP, åtgår 2st
1795:-
23
13236-1020
LEVER,NEUTRAL POSITIO
116:-
24
92081-051
SPRING CHNG DRUM LEV
*
25
482J6-000
CIRCLIP 6MM
*
26
92001-1052
BOLT,CHG DRUM POSITN
190:-
27
92024-047
WASHER,LOCK
44:-
28
92001-1301
BOLT,NEUTRAL POSITION
149:-



* Kontakta kundtjänst för prisuppgift: 018-15 60 00