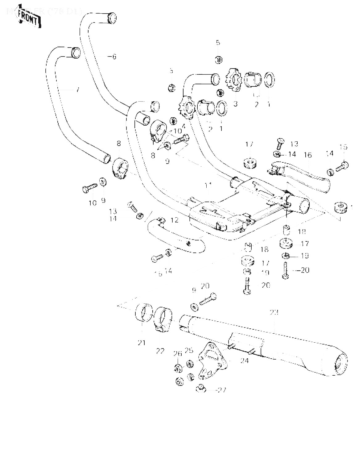
Kawasaki » KZ1000 (1978 KZ1000-D1 Z1R) » MUFFLER ('78 D1)

1
11009-1906
GASKET,EXHAUST PIPE H, åtgår 4st
*
2
92027-170
INSERT,EXHAUST PIPE, åtgår 8st
*
3
18069-1004
HOLDER,EXHAUST PIPE,, åtgår 2st
*
4
18069-1005
HOLDER,EXHAUST PIPE,, åtgår 2st
405:-
5
92017-013
NUT,LOCK,8MM, åtgår 8st
*
6
18049-1031
PIPE,EXHAUST,R.H.INN
*
7
18049-1030
PIPE,EXHAUST,L.H.INN
*
8
92037-180
CLAMP,EXH PIPE CONNCT, åtgår 2st
*
9
410B0-800
WASHER PLAIN 8MM, åtgår 3st
*
10
115G0-830
BOLT-SMALL-UPSET,8X30, åtgår 2st
*
11
49070-1006
BOX,MUFFLER CONNECTIN
*
12
14025-1016
COVER,MUFFLER,L.H
*
13
220B0-620
SCREW PAN HEAD 6X20, åtgår 2st
*
14
461K0-600
WASHER-SPRING,6MM,BLA, åtgår 4st
*
15
220C0-610
SCREW-PAN-CROS,6X10,B, åtgår 2st
*
16
14025-1017
COVER,MUFFLER,R.H
*
17
92075-1042
DAMPER RUBBER, åtgår 4st
*
18
92027-1064
COLLAR, åtgår 2st
*
19
461F0-800
WASHER SPRING 8MM, åtgår 2st
*
20
92001-1577
BOLT,FLANGED,8X35, åtgår 3st
*
21
11009-1035
Denna artikel ersätts av 11009-1629
22
92037-1055
CLAMP,MUFFLER CONNECT
*
23
18002-1034
MUFFLER,R.H
*
24
32069-1016
BRACKET,MUFFLER
264:-
25
461F0-800
WASHER SPRING 8MM, åtgår 2st
*
26
311B0-800
NUT,8MM, åtgår 2st
*
27
92075-015
DAMPER RUBB MAIN STAD
46:-



* Kontakta kundtjänst för prisuppgift: 018-15 60 00