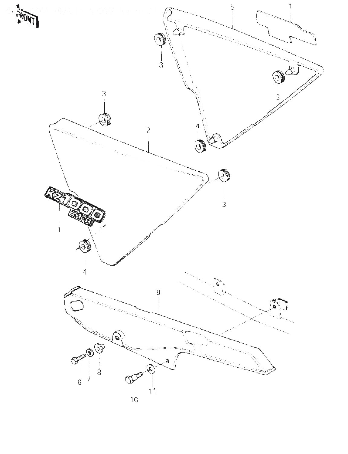
Kawasaki » KZ1000 (1978 KZ1000-D1 Z1R) » SIDE COVERS/CHAIN COVER ('78 D1)

1
56018-1020
EMBLEM,SIDE COVER, åtgår 2st
628:-
2
36001-1038
COVER-SIDE,LH,SILVER
*
3
92071-056
GROMMET, åtgår 4st
39:-
4
92071-064
GROMMET,SIDE COVER, åtgår 2st
101:-
5
36001-1018
COVER,R.H SIDE,M.S.SL
*
6
110N0-618
BOLT HEX HEAD 6X18
*
7
92022-125
Denna artikel ersätts av 92200-0283
8
92027-260
COLLAR
46:-
9
36014-1004
CASE-CHAIN
*
10
92001-115
BOLT,HEAX HEAD,6X14
UTGÅTT
11
92022-1561
WASHER,8.5X20X1.6
40:-



* Kontakta kundtjänst för prisuppgift: 018-15 60 00