Kawasaki » KZ1000 (1981 KZ1000-M1 CSR) » GENERATOR/REGULATOR

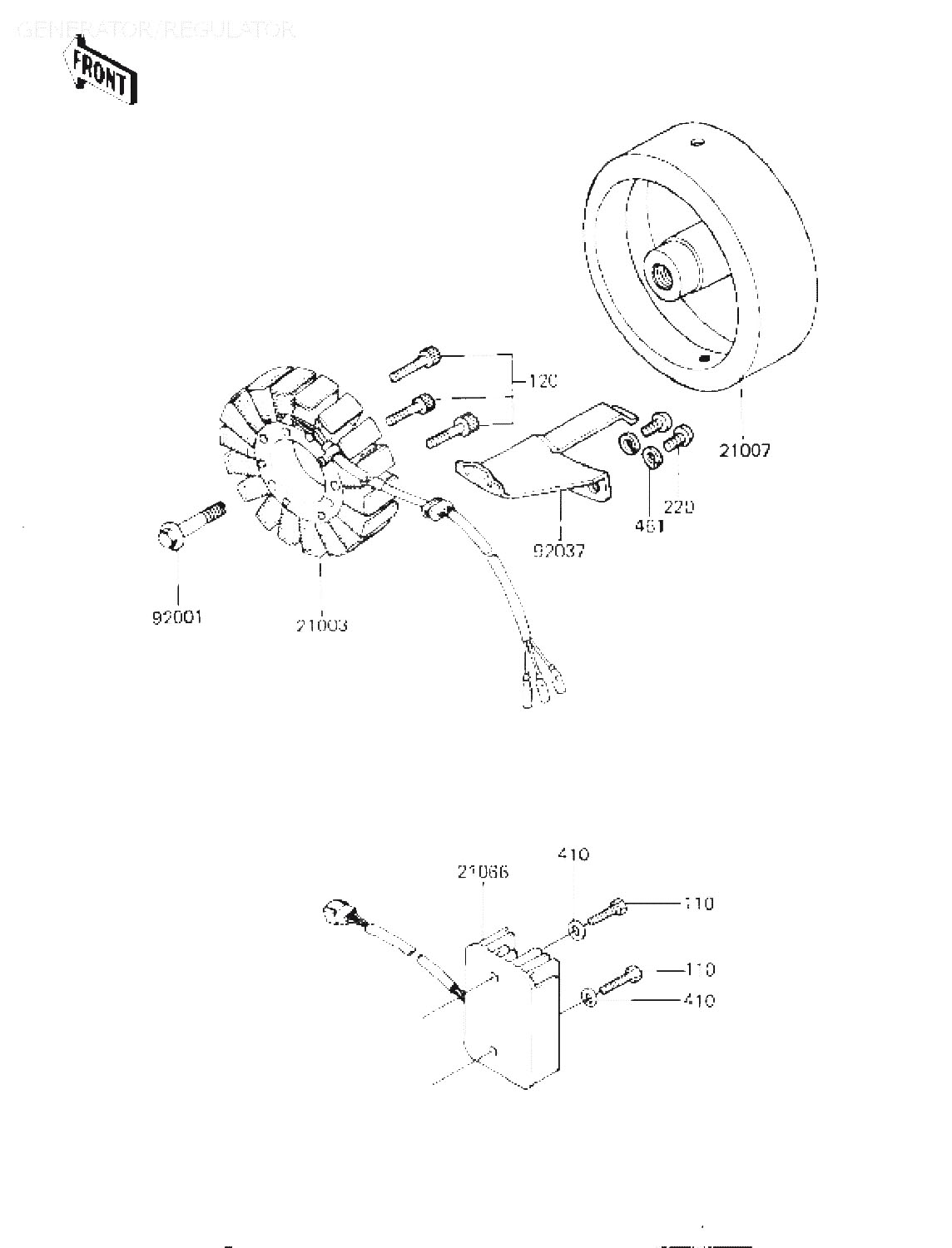
21003
21003-1040
Denna artikel ersätts av 21003-1327
21007
21007-1036
ROTOR
6792:-
21066
21066-1018
REGULATOR-VOLTAGE
2041:-
92001
92001-1146
BOLT,12X40
87:-
92037
92037-1214
CLAMP
58:-
110
112B0-614
BOLT-UPSET 6X14, åtgår 2st
*
120
120P0-630
BOLT,SOCKET,6X30, åtgår 3st
*
220
220B0-512
SCREW PAN HEAD 5X12, åtgår 2st
*
411
411B0-600
WASHER PLAIN 6MM, åtgår 2st
*
461
461F0-500
WASHER SPRING 5MM, åtgår 2st
*



* Kontakta kundtjänst för prisuppgift: 018-15 60 00