Kawasaki » Z1100 (1983 KZ1100-D2 Spectre) » BRAKE PEDAL/TORQUE LINK

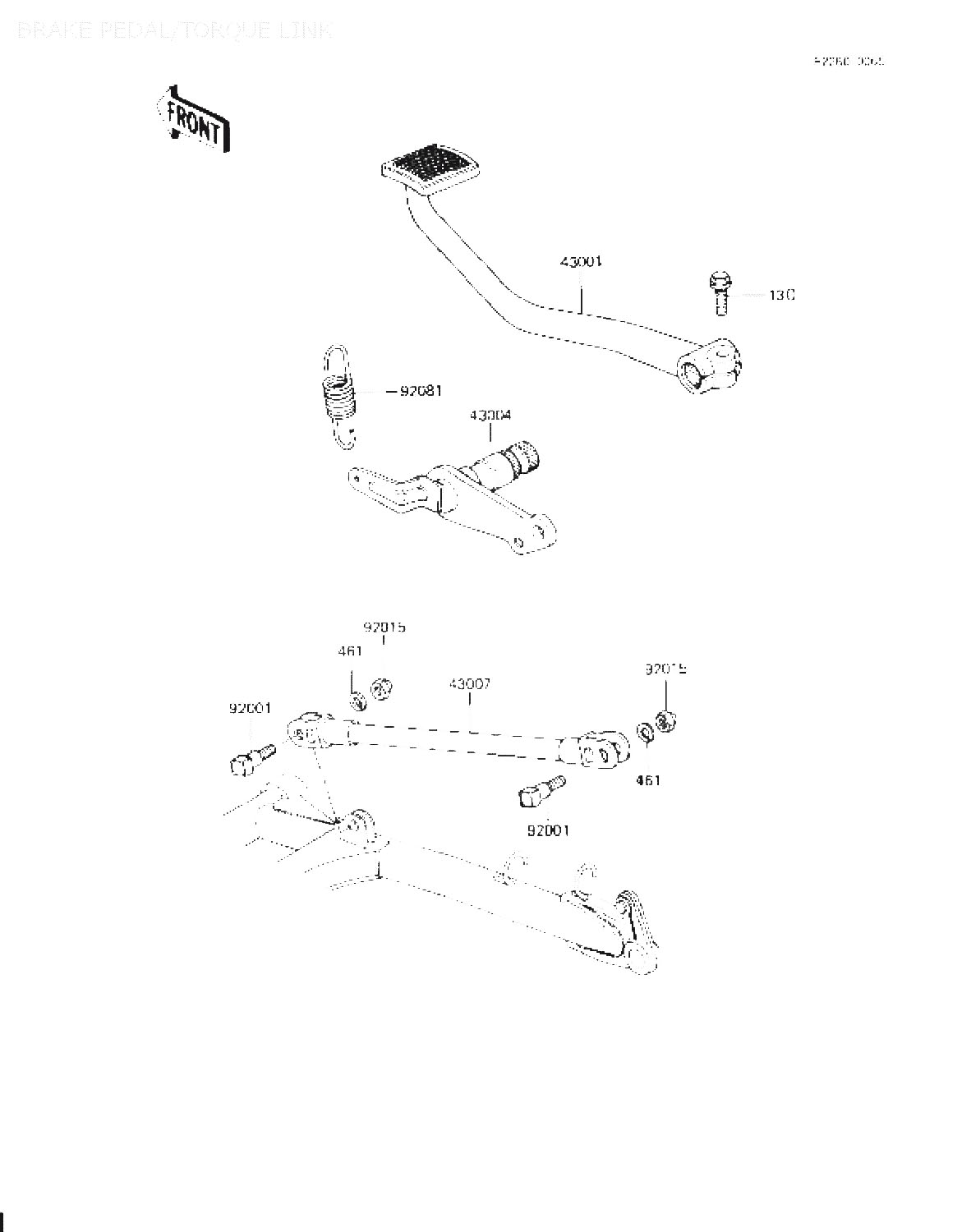
43001
43001-1079
LEVER-BRAKE,BLACK
681:-
43004
43004-1037
SHAFT-BRAKE,BLACK
391:-
43007
43007-1021
ROD-TORQUE
299:-
92001
92001-1646
BOLT,10X37, åtgår 2st
65:-
92015
92015-1189
NUT,LOCK,10MM,BLACK, åtgår 2st
60:-
92081
92081-1313
SPRING,BRAKE PEDAL
78:-
130
130J0-825
BOLT-FLANGED,8X25,BLA
*
461
461K1-000
WASHER-SPRING,10MM, åtgår 2st
*



* Kontakta kundtjänst för prisuppgift: 018-15 60 00