Kawasaki » Z1100 (1983 KZ1100-D2 Spectre) » CYLINDER/PISTONS

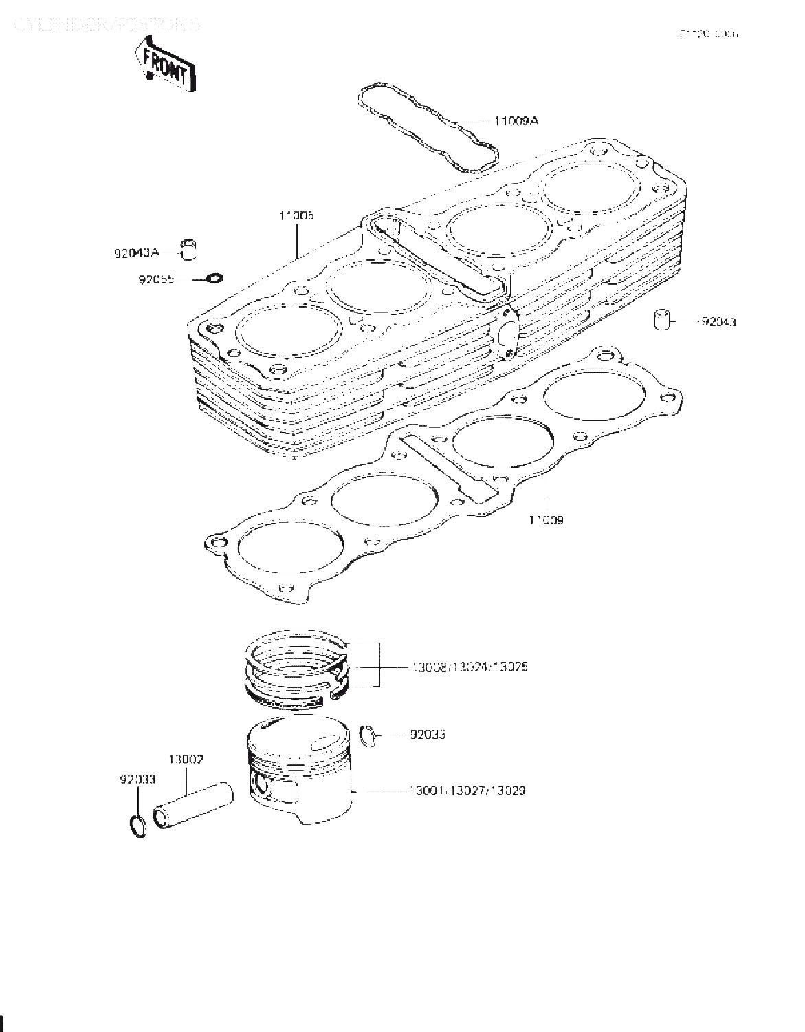
11005
11005-1325
CYLINDER-ENGINE,BLACK
13948:-
11009
11060-1067
Denna artikel ersätts av 11060-1828
11009
11009-1208
GASKET,CYLINDER
686:-
13001
13001-1118
PISTON-ENGINE,STD, åtgår 4st
736:-
13002
13002-1013
PIN-PISTON, åtgår 4st
65:-
13008
13008-5037
RING-SET-PISTON,STD, åtgår 4st
943:-
13024
13024-5023
RING-SET PISTON LL, åtgår 4st
*
13025
13025-5019
RING-SET PISTON L,O/S, åtgår 4st
1120:-
13027
13027-1055
PISTON-ENGINE LL,0/S, åtgår 4st
*
13028
13029-1057
PISTON-ENGINE L,0/S, åtgår 4st
1031:-
92033
92033-1054
RING-SNAP, åtgår 8st
30:-
92043
92043-1266
PIN,11X14X12.3, åtgår 2st
15:-
92043
92043-1037
PIN,DOWEL,10X8.2X14, åtgår 2st
15:-
92055
92055-1148
RING-0,0D=18.5MM, åtgår 4st
123:-



* Kontakta kundtjänst för prisuppgift: 018-15 60 00