Kawasaki » EX305 (1985 B3: EX305) » METER(S)

311
311B0-300
NUT-HEX, åtgår 3st
*
311
311B0-500
NUT,5MM, åtgår 2st
*
461
461F0-300
WASHER SPRING 3MM, åtgår 3st
*
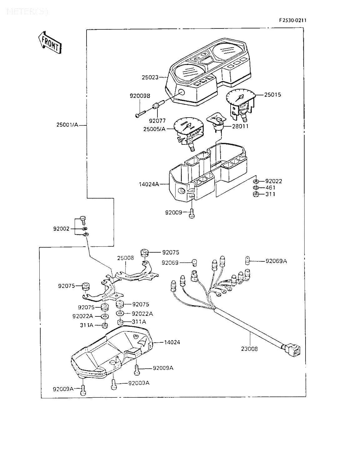
14024
14025-1564
COVER,METER CASE LWR
345:-
14024
14025-1604
COVER,METER CASE
*
23008
23008-1183
SOCKET-ASSY,METER
1002:-
25001
25001-1418
Denna artikel ersätts av 25001-1939
25001
25001-1419
Denna artikel ersätts av 25001-1939
25005
25005-1208
SPEEDOMETER,KPH (Canada)
3560:-
25005
25005-1209
SPEEDOMETER, MPH
3560:-
25008
25008-1052
BRACKET-METER
536:-
25015
25015-1144
TACHOMETER,(X1000R/MI
2537:-
25023
25023-1052
COVER-METER CASE
959:-
28011
28011-1034
METER,FUEL
1149:-
92002
92002-1133
Denna artikel ersätts av 187B0614
92009
92009-1163
SCREW,TAPPING,4X16, åtgår 4st
30:-
92009
92009-1164
SCREW,TAPPING,3X16, åtgår 3st
30:-
92009
92009-1172
SCREW,2X6,BLACK
30:-
92022
92022-1374
WASHER, åtgår 3st
22:-
92022
92022-263
WASHER,PLAIN,6MM, åtgår 2st
22:-
92069
92069-017
BULB 12V 1.5W
41:-
92069
92069-1007
BULB,12V3.4W, åtgår 7st
41:-
92075
92075-1385
DAMPER,METER BRACKET, åtgår 4st
46:-
92077
92077-1015
KNOB,METER
77:-



* Kontakta kundtjänst för prisuppgift: 018-15 60 00