Kawasaki » ZX750 (1993 L1: ZX750) » CYLINDER/PISTON(S)

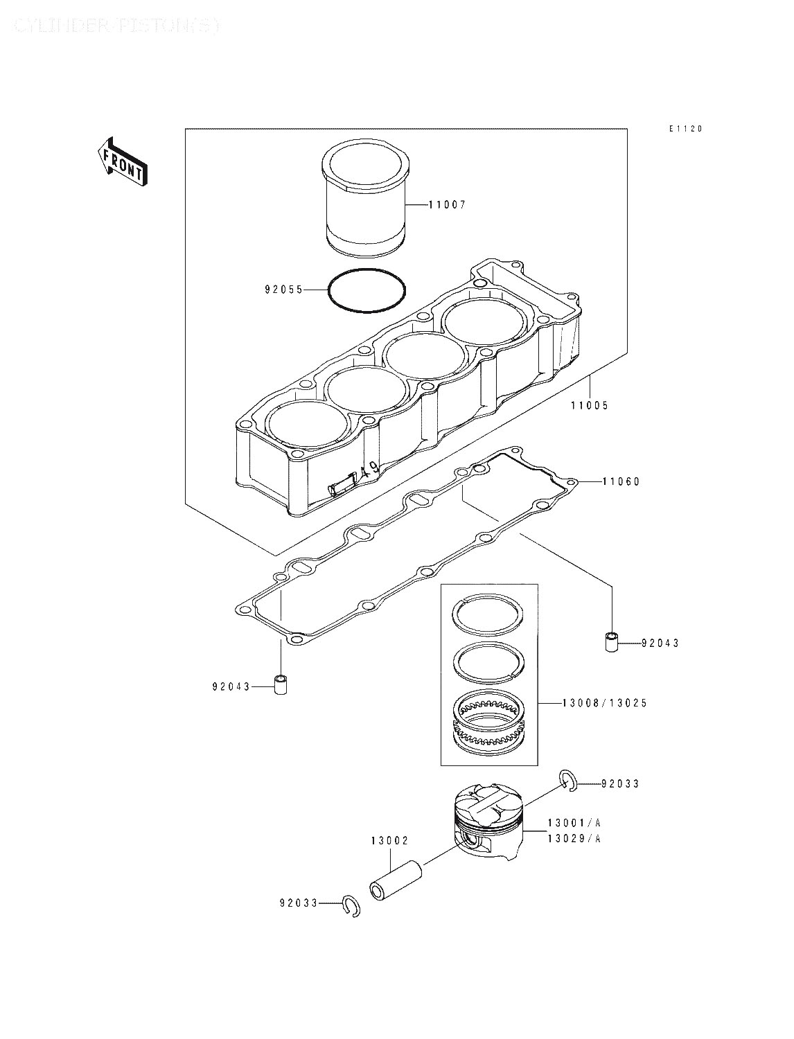
11005
11005-1656
CYLINDER-ENGINE
16887:-
11007
11007-1115
LINER-CYLINDER, åtgår 4st
*
11060
11060-1093
GASKET,CYLINDER BASE
451:-
13001
13001-1347
PISTON-ENGINE,STD, åtgår 4st
806:-
13001
13001-1355
PISTON-ENGINE,STD, åtgår 4st
806:-
13002
13002-1086
PIN-PISTON, åtgår 4st
241:-
13008
13008-1136
RING-SET-PISTON, åtgår 4st
707:-
13025
13025-1113
RING-SET-PISTON L,O/S
827:-
13029
13029-1207
PISTON-ENGINE L,O/S 0
956:-
13029
13029-1208
PISTON-ENGINE L,O/S 0
956:-
92033
92033-1099
RING-SNAP,18MM, åtgår 8st
15:-
92043
92043-1037
PIN,DOWEL,10X8.2X14, åtgår 2st
15:-
92055
92055-1213
RING-O,76MM, åtgår 4st
76:-



* Kontakta kundtjänst för prisuppgift: 018-15 60 00