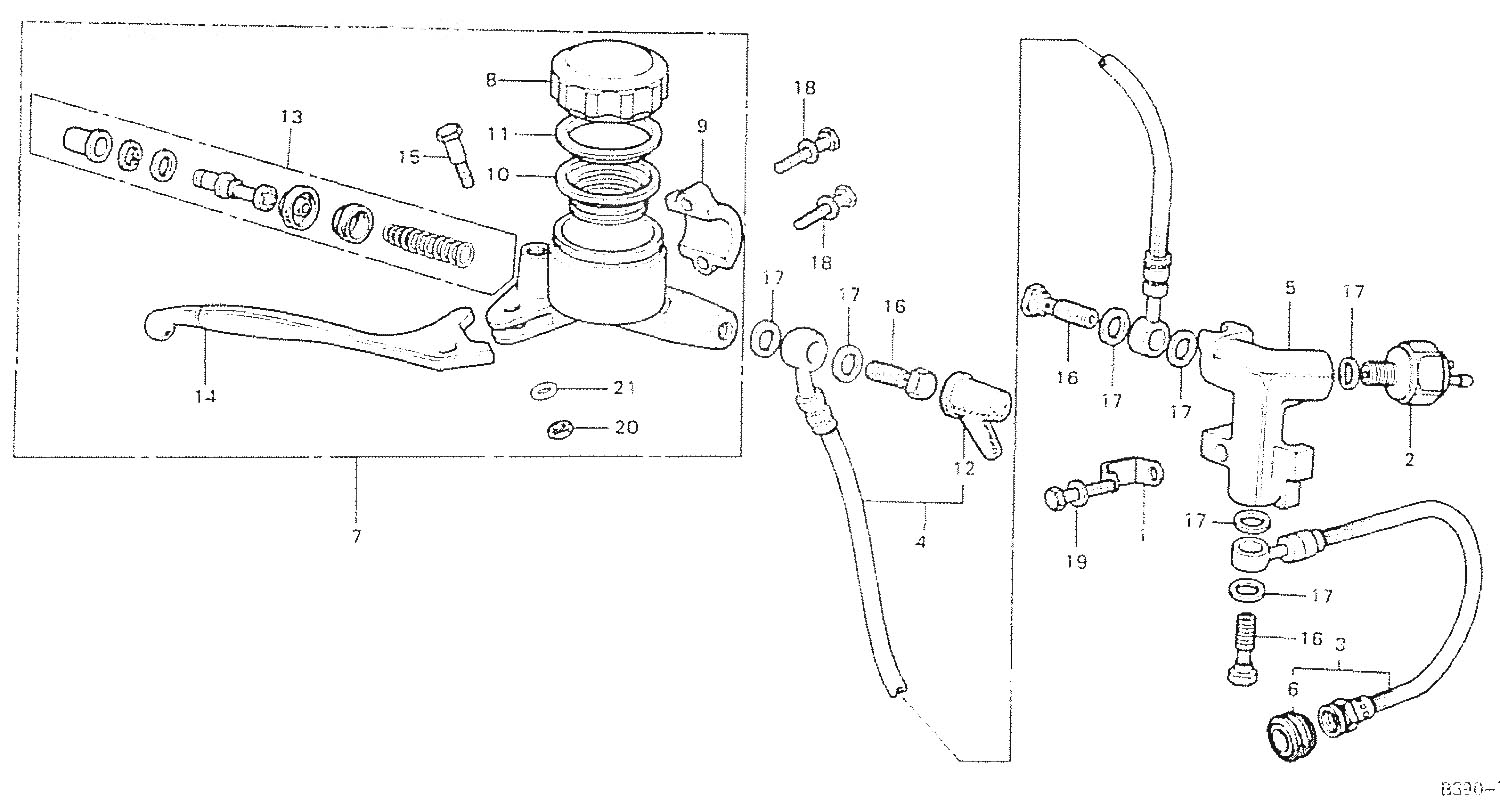
Honda » CB550 (FOUR) (CB550F2 SUPER SPORT 550 FOUR 1977 (ENGLAND)) » MASTER CYLINDER - BRAKE HOSE

1
32111-323-000
CLAMPER,CORD
81:-
2
35350-300-016
SWITCH,STOP
303:-
3
45125-379-003
HOSE A,FR.BRAKE
*
4
45126-390-621
HOSE B,FR.BRAKE
*
5
45127-323-000
JOINT,THREE WAY
*
6
45146-300-000
PACKING HOSE
82:-
7
45500-390-681
CYLINDER,MASTER
*
8
45513-341-671
CAP,OIL CUP
*
9
45517-300-003
(45517-MA5-671) HOLDER MASTER
382:-
10
45520-300-000
DIAPHRAGM
117:-
11
45521-300-010
Denna artikel ersätts av 45521MJ6006
12
45522-300-010
BOOT,MASTER CYLD
141:-
13
45530-404-305
CYLN.SET,MASTER
1086:-
14
53175-369-003
LEVER,R.STEERING
566:-
15
90114-300000
BOLT,HANDLE LEVER
195:-
16
90145-300000
(90145-300-010) BOLT,OIL, åtgår 3st
195:-
17
90545-300000
WASHER, OIL BOLT, åtgår 7st
47:-
18
93481-0602500
BOLT-WASHER,6X25, åtgår 2st
27:-
19
93482-0602800
BOLT-WASHER, 6X28
*
20
94002-06000
NUT,THIN 6MM
15:-
21
94101-06000
WASHER,PLAIN, 6MM
15:-



* Kontakta kundtjänst för prisuppgift: 018-15 60 00