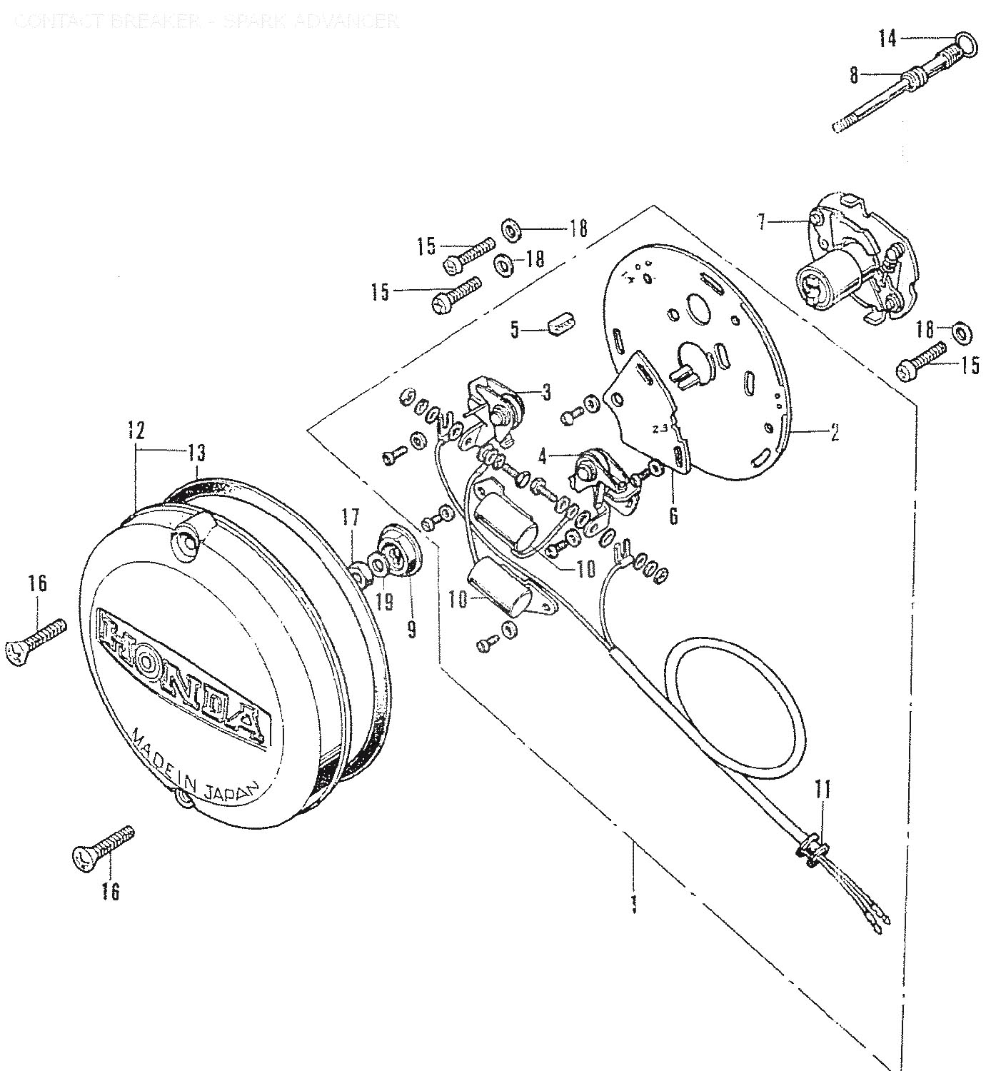
Honda » CB750 (FOUR) (CB750K1 (GERMANY)) » CONTACT BREAKER - SPARK ADVANCER

1
30200-300-005
BREAKER,CONTACT
3066:-
1
30200-300-015
BREAKER,CONTACT
3066:-
2
30201-300-005
PLATE,CONTACT BRK
*
2
30201-300-015
PLATE,CONTACT BRK
*
3
30203-300-005
(30203-300-154) CYLN,CONTACT
851:-
4
30204-300-005
(30204-300-154) CYLN,CONTACT
851:-
5
30205-003-005
FELT, OIL
98:-
6
30215-300-005
(30215-300-154) PLATE,SHIFT BRK.
*
7
30220-300-005
ADVANCER,SPARK
*
8
30231-300-010
SHAFT,ADVANCER
167:-
9
30233-300-000
WASHER,SPECIAL
204:-
10
30250-300-005
COMP,CONDENSER, åtgår 2st
720:-
11
30254-300-300
GROMMET,BREAKER
*
12
30370-300-020
COVER,POINT
5205:-
13
30372-300-300
GASKET,POINT
138:-
14
91301-300000
O-RING (6X2.3)
27:-
15
93500-050120A
SCREW,CROSS,5X12, åtgår 3st
618:-
16
93700-0603202
SCREW,CROSS 6X32, åtgår 2st
25:-
17
94002-06000
NUT,THIN 6MM
15:-
18
94101-05000
WASHER,PLAIN,5MM, åtgår 3st
15:-
19
94101-06000
WASHER,PLAIN, 6MM
15:-



* Kontakta kundtjänst för prisuppgift: 018-15 60 00