Honda » SH1507 (Europe Direct) » BATTERY

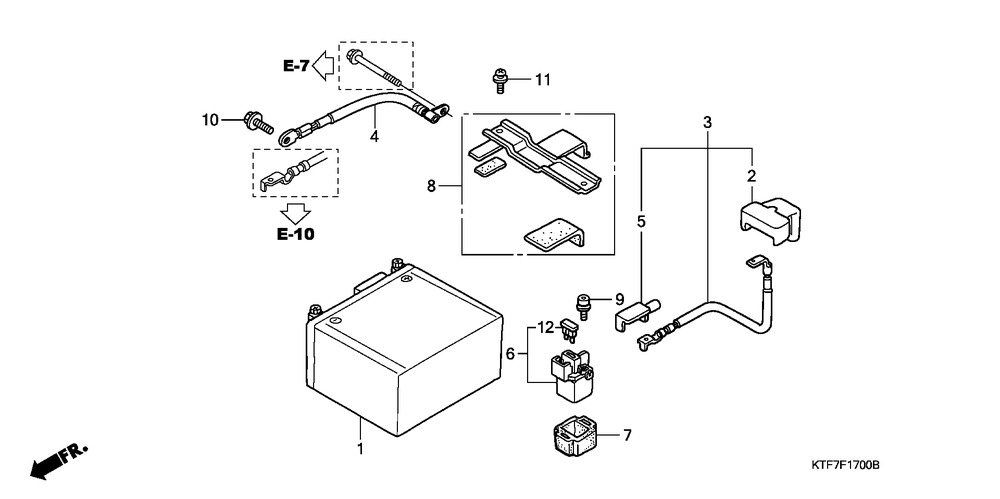
1
31500-KW3-676
BATTERY (YTX7L-BS) (GS YUASA)
1535:-
1
31500-KW3-676
BATTERY (YTX7L-BS) (TIANJIN YUASA)
1535:-
2
32406-KPR-901
COVER, STARTER MAGNETIC TERMINAL
65:-
3
32411-KPR-901
CABLE, STARTER BATTERY
*
4
32412-KPR-890
CABLE, ENGINE EARTH
*
5
32416-KPR-900
COVER, BATTERY TERMINAL
*
6
35850-MT4-000
Denna artikel ersätts av 35850MT4003
7
35856-KAB-000
RUBBER, SHOCK
150:-
8
64315-KPR-900
BAND, BATTERY
175:-
9
90111-MR5000
BOLT, SOCKET, 5X9, åtgår 2st
38:-
10
90149-SE0003
BOLT, EARTH, 6X16
*
11
93891-0501008
SCREW-WASHER, 5X10, åtgår 2st
15:-
12
98200-33000
FUSE, BLADE (30A)
20:-



* Kontakta kundtjänst för prisuppgift: 018-15 60 00