Suzuki
»
CP80 (CP80 1985 (CHF))
» CYLINDRE
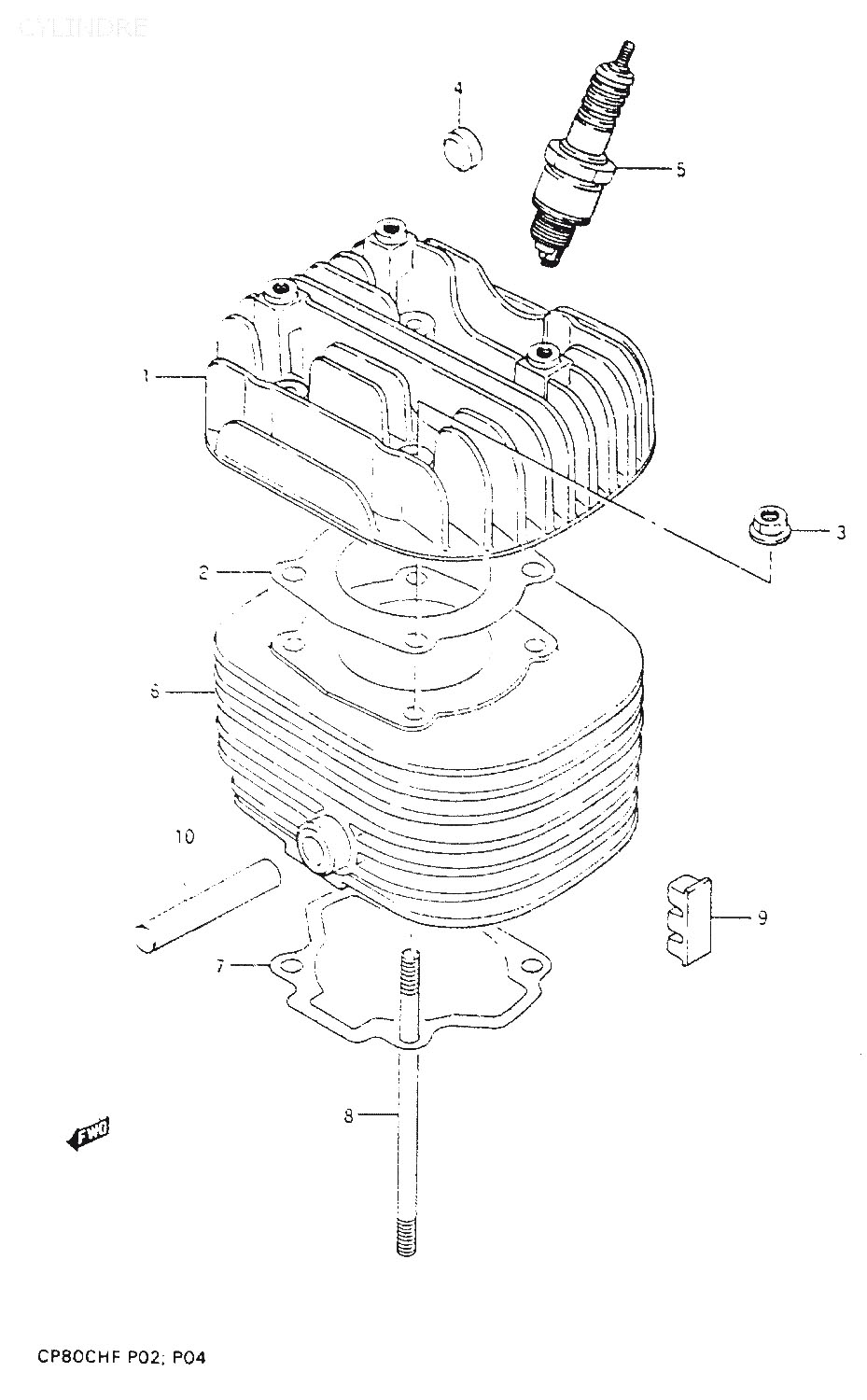
1
11111-29A20
CULASSE
*
2
11141-07900
Denna artikel ersätts av
11141-07910
3
08316-16068
Denna artikel ersätts av
09159-06017
4
11252-02300
PAD, RUBBER, åtgår 6st
115:-
5
09482-00281
SPARK PLUG
*
6
11210-29A20
Denna artikel ersätts av
11210-29A20-002
7
11241-07900
Denna artikel ersätts av
11241-29A10
8
01421-06958
Denna artikel ersätts av
01421-0695A
9
11251-02110
PAD, CYLINDER RUBBER, åtgår 3st
*
10
13140-07900
PIPE, HEAT
105:-
* Kontakta kundtjänst för prisuppgift: 018-15 60 00
Förstora bilden