Suzuki
»
CP80 (CP80 1985 (CHF))
» ECHAPPEMENT
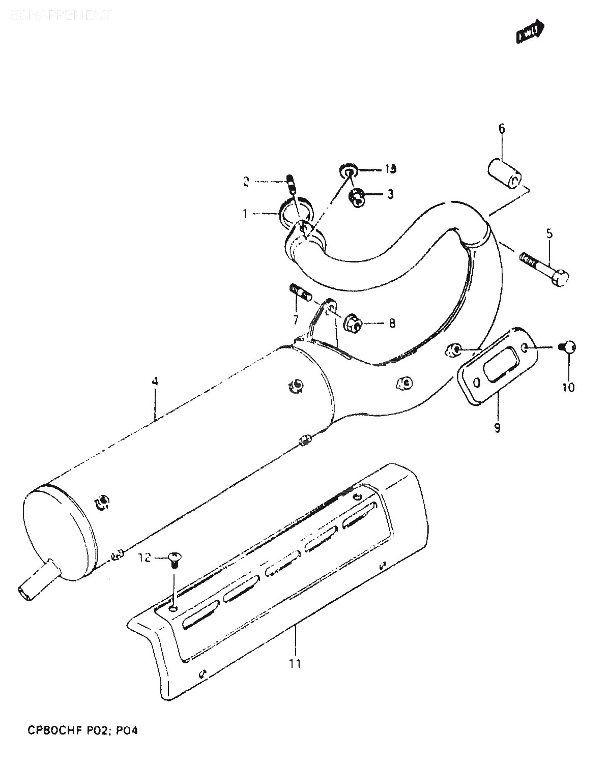
1
14181-04700
Denna artikel ersätts av
14181-04710
2
01421-06168
Denna artikel ersätts av
01421-0616A
3
08361-35066
NUT, åtgår 2st
*
4
14310-29A32
TETE DE FOURCHE
*
5
01517-08505
Denna artikel ersätts av
01550-08503
6
09180-08010
SPACER (8.5*18*29.1)
*
7
01421-08205
Denna artikel ersätts av
01421-0820A
8
08319-31085
Denna artikel ersätts av
08319-31083
9
14790-29A00
COVER, EXHAUST PIPE
*
10
02112-06065
Denna artikel ersätts av
02112-06068
11
14780-03A60-291
COUVERCLE
*
12
02112-06065
Denna artikel ersätts av
02112-06068
13
08321-21066
Denna artikel ersätts av
08321-01063
* Kontakta kundtjänst för prisuppgift: 018-15 60 00
Förstora bilden