Suzuki » CS50 (CS50 1983 (D)) » AIR CLEANER

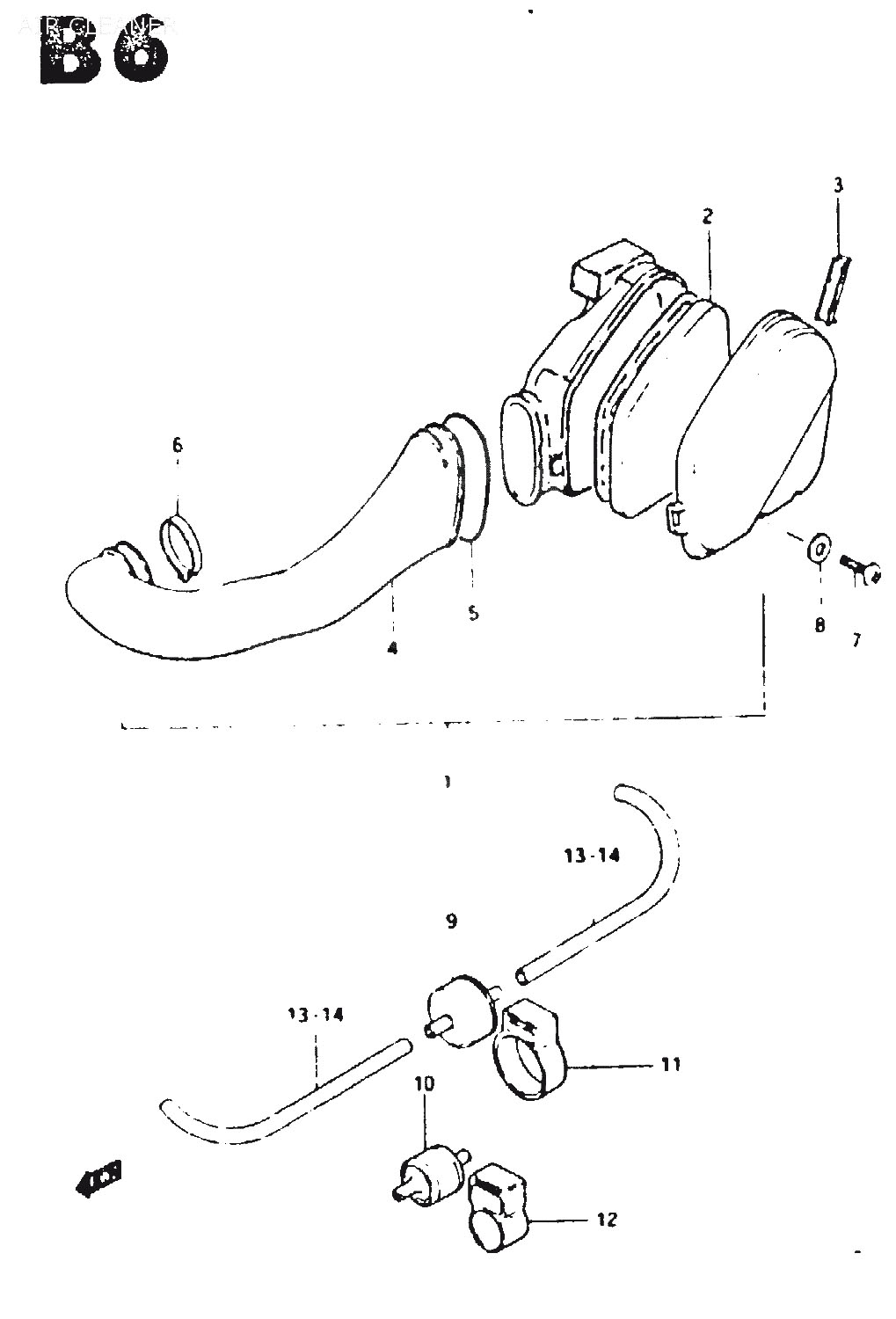
1
13700-02100
AIR CLEANER ASSY
*
2
13781-02100
FILTER
*
3
13821-00011
SLIDER
45:-
4
13881-02100
TUBE, OUTLET
*
5
13931-02100
CLAMP
*
6
09402-34306
CLAMP, CARBURETOR SIDE
74:-
7
02142-06167
SCREW, åtgår 2st
22:-
8
09160-06007
Denna artikel ersätts av 09160-06084
9
13170-02500
VALVE, VACUAM TRANSMITTING
*
10
13170-02510
Denna artikel ersätts av 18480-79110
11
13171-02500
HOLDER
*
12
13171-02510
HOLDER
127:-
13
09343-03051
Denna artikel ersätts av 09355-30705-600
14
09343-03062
HOSE (3.5*6.5*160), åtgår 2st
*



* Kontakta kundtjänst för prisuppgift: 018-15 60 00