Suzuki » CS50 (CS50 1983 (D)) » FRONT BRAKE LEVER - SWITCH (CS50D)

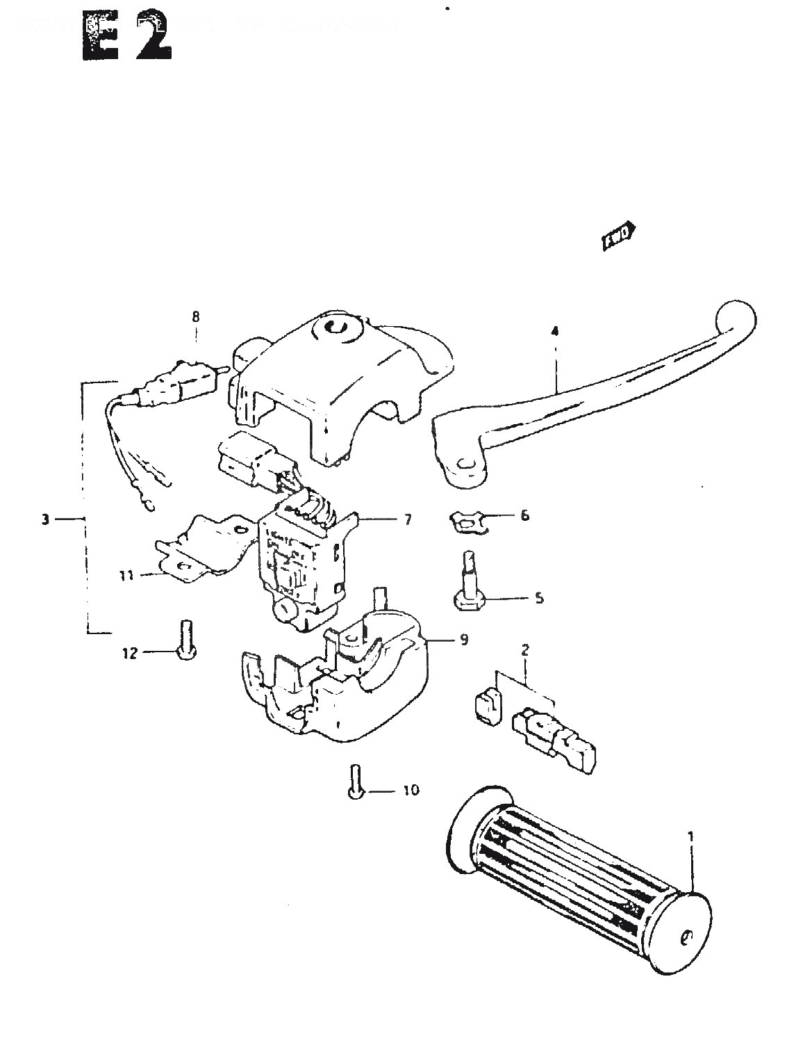
1
57110-02110
GRIP, THROTTLE
*
2
57100-02820
PIECE SET, THROTTLE END
*
3
57300-02103
BRAKE LEVER / SWITCH ASSY
*
4
57421-02101
LEVER, FRONT BRAKE
*
5
57431-02100
BOLT
*
6
57432-02100
LOCK WASHER
*
7
57310-02100
SWITCH ASSY
*
8
57460-02100
Denna artikel ersätts av 57460-02101
9
57341-02101
COVER
*
10
02112-04108
Denna artikel ersätts av 02112-04107
11
57311-02103
BRACKET
*
12
02112-05128
Denna artikel ersätts av 02112-05127



* Kontakta kundtjänst för prisuppgift: 018-15 60 00