Suzuki
»
DR650 (DR650 1992 (RSEN))
» BATTERY
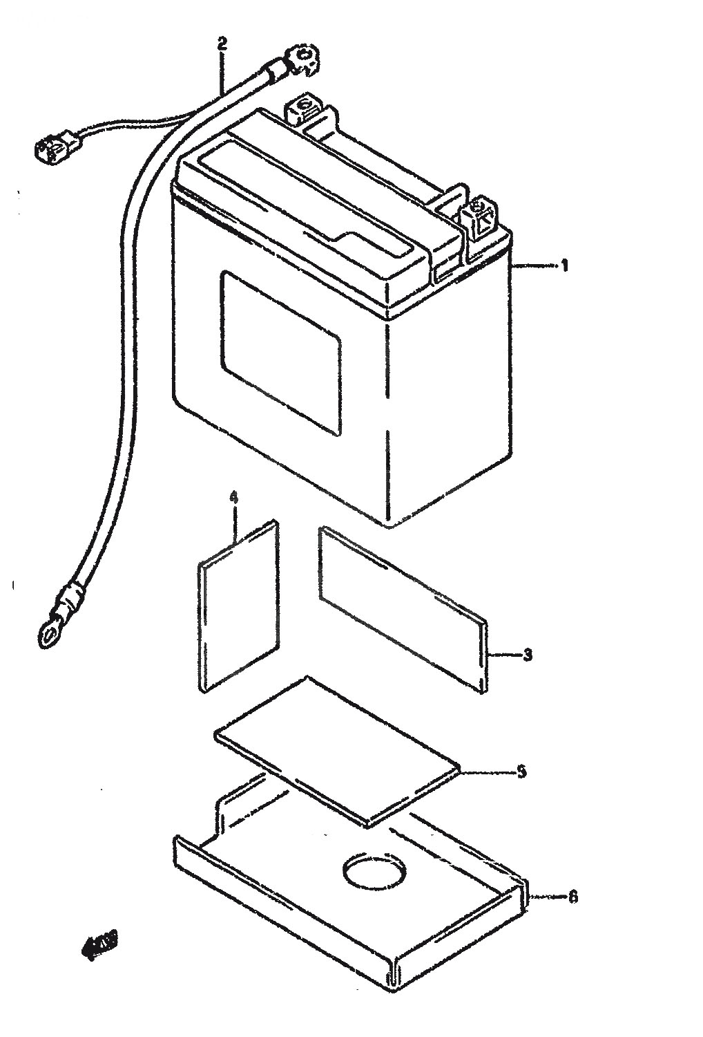
1
33610-26D10
Denna artikel ersätts av
33610-26D10
1
33610-26D00
Denna artikel ersätts av
33610-26D10
2
33860-12D00
LEAD WIRE,BATTERY (-)
*
3
33652-29100
Denna artikel ersätts av
33651-37000
4
33652-08410
Denna artikel ersätts av
33651-37000
5
33651-37000
PROTECTOR (170X95X3.0)
39:-
6
33652-12D00
PROTECTOR
*
* Kontakta kundtjänst för prisuppgift: 018-15 60 00
Förstora bilden