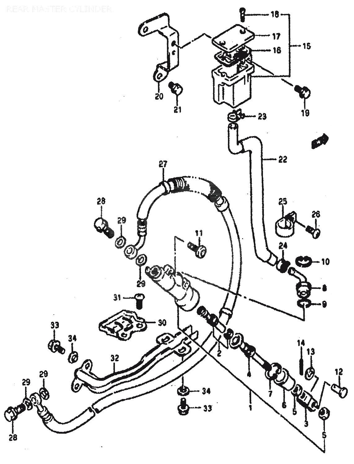
Suzuki » DR800 (DR800 1990 (SL)) » REAR MASTER CYLINDER

1
69600-44B01
CYLINDER ASSY,REAR MASTER
*
2
69600-34810
PISTON & CUP SET
652:-
3
69692-00B20
Denna artikel ersätts av 69692-00B21
4
69670-44B00
ROD, PUSH
335:-
5
69693-05A00
NUT, åtgår 2st
19:-
6
69691-00A00
.BOOT
47:-
7
51162-70040
CIRCLIP
55:-
8
69672-00B20
CONNECTOR
64:-
9
69686-34200
O RING
33:-
10
69674-00B20
CIRCLIP
35:-
11
09106-06064
BOLT, SEAT, åtgår 2st
78:-
12
09200-08048
PIN
43:-
13
09160-08074
WASHER
35:-
14
04111-20158
Denna artikel ersätts av 04111-2015A
15
69740-24A00
Denna artikel ersätts av 69740-24A01
16
59667-04700
DIAPHRAGM
137:-
17
69669-24A01
CAP
212:-
18
69689-04A00
SCREW, åtgår 2st
22:-
19
01517-06167
Denna artikel ersätts av 01550-06163
20
69750-44B00
PLATE,RESERVOIR TANK
*
21
09103-06078
BOLT, STARTING MOTOR, åtgår 2st
28:-
22
69730-44B01
HOSE,RESERVOIR TANK
*
23
09400-14301
CLAMP
*
24
09401-12402
CLAMP, HOSE LOWER
*
25
09403-19404
CLAMP,HOSE GUIDE
*
26
02142-16128
Denna artikel ersätts av 02142-06127
27
69480-44B01
HOSE,REAR BRAKE
*
28
09360-10017
Denna artikel ersätts av 09360-10061
29
09161-10009
WASHER (10X15X1.5), åtgår 4st
30:-
30
69243-44B10-13L
GUIDE,BRAKE HOSE (SILVER)
*
31
02142-06164
Denna artikel ersätts av 02142-06163
32
69261-44B00
PROTECTOR, BRAKE HOSE
*
33
01517-06164
Denna artikel ersätts av 01550-06163
34
09169-06037
Denna artikel ersätts av 09169-06011



* Kontakta kundtjänst för prisuppgift: 018-15 60 00