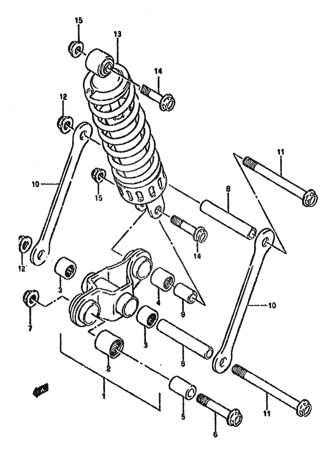
Suzuki » GS500 (GS500 1996 (ESKT)) » CUSHION LEVER (MODEL M/N/P/R/S/T)

1
62601-01821
LEVER SET, REAR CUSHION
*
2
09263-20064
Denna artikel ersätts av 09263-20120
3
09263-17037
Denna artikel ersätts av 09263-17053
4
09263-17034
Denna artikel ersätts av 09263-17057
5
62684-01D00
SPACER, FRONT (12X20X30)
283:-
5
62684-05C00
SPACER, FRONT
*
6
09103-12042
BOLT, FRONT (12X57)
92:-
7
08319-31128
Denna artikel ersätts av 08319-3112A
8
09180-12128
SPACER, CENTER (12X17X89), åtgår 2st
*
9
62684-01D10
Denna artikel ersätts av 62684-40A10
9
62684-40A10
SPACER, REAR CUSHION LEVER
112:-
10
62641-01D01
ROD,REAR CUSHION, åtgår 2st
*
10
62641-01D02
ROD, REAR CUSHION, åtgår 2st
390:-
11
09103-12041
BOLT, ROD (12X118), åtgår 2st
207:-
12
08319-31128
Denna artikel ersätts av 08319-3112A
13
62100-01D10
ABSORBER ASSY, REAR SHOCK
3198:-
14
09103-10213
BOLT, UPPER, åtgår 2st
60:-
15
08319-31107
NUT, åtgår 2st
37:-



* Kontakta kundtjänst för prisuppgift: 018-15 60 00