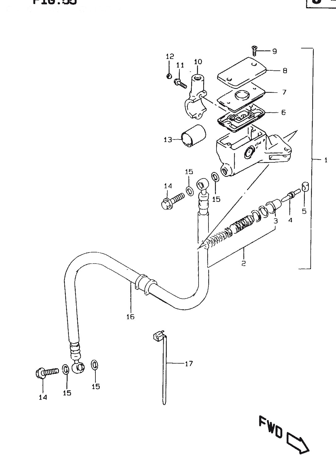
Suzuki » GSF1200 (GSF1200 1998 (SW)) » CLUTCH MASTER CYLINDER

1
59800-26D10
CYLINDER ASSY, CLUTCH MASTER
*
2
59800-08810
PISTON/CUP SET
737:-
3
59666-44300
.BOOT
50:-
4
59871-38A00
PUSH ROD
*
5
59892-08A00
BUSH
69:-
6
59667-49460
DIAPHRAGM
137:-
7
59668-41C00
PLATE, DIAPHRAGM
133:-
8
59669-41C00
CAP
589:-
9
69689-49300
SCREW, åtgår 2st
14:-
10
59671-05A00
HOLDER
289:-
11
07130-06203
Denna artikel ersätts av 07130-0620B
12
09250-05009
CAP, åtgår 2st
28:-
13
59894-26D01
SPACER, CLUTCH MASTER CYLINDER
140:-
14
09360-10039
Denna artikel ersätts av 09360-10061
14
09360-10041
BOLT (10X1.00X22), åtgår 2st
82:-
15
09161-10009
WASHER (10X15X1.5), åtgår 4st
30:-
16
59910-27E00
HOSE, CLUTCH
2540:-
17
09407-14403
CLAMP, BATTERY CABLE
34:-



* Kontakta kundtjänst för prisuppgift: 018-15 60 00