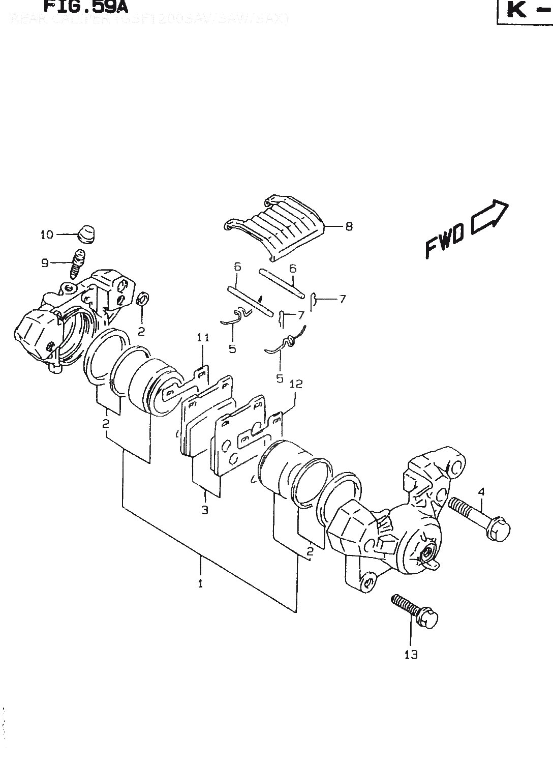
Suzuki » GSF1200 (GSF1200 1998 (SW)) » REAR CALIPER (GSF1200SAV/SAW/SAX)

1
69100-32810
REMZUIGER SET
*
2
69100-32820
Denna artikel ersätts av 69100-32821
3
69100-20810
PAD SET
485:-
4
59145-16700
BOLT, åtgår 2st
135:-
5
59143-16700
SPRING, åtgår 2st
110:-
6
69141-45000
PIN, åtgår 2st
98:-
7
69142-45000
CLIP, åtgår 2st
23:-
8
59151-16701
COVER
245:-
9
59121-18410
BLEEDER
80:-
10
55156-66310
CAP
80:-
11
59371-20C00
SHIM, INNER
245:-
12
59381-20C00
SHIM, OUTER
245:-
13
01550-08303
Denna artikel ersätts av 01550-0830B



* Kontakta kundtjänst för prisuppgift: 018-15 60 00