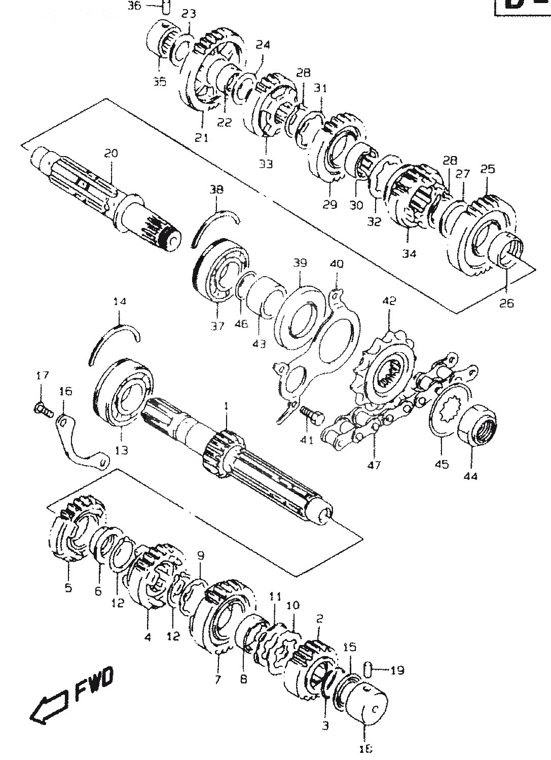
Suzuki » GSF1200 (GSF1200 1998 (SW)) » TRANSMISSION

1
24121-40C11
Denna artikel ersätts av 24121-40C21
2
24221-40C00
GEAR, 2ND DRIVE (NT:19)
1505:-
3
09380-25013
CIRCLIP, 2ND DRIVE
44:-
4
24231-48B01
Denna artikel ersätts av 24231-48B10
5
24241-48B10
Denna artikel ersätts av 24241-48B50
6
09301-25001
Denna artikel ersätts av 24322-19F00
7
24251-48B02
Denna artikel ersätts av 24251-48B30
8
24252-48B00
BUSH
295:-
9
09167-25021
WASHER, 3RD DRIVEN
40:-
10
09167-25013
LOCK WASHER, 3RD DRIVEN
37:-
11
09169-25001
WASHER, 3RD DRIVEN LOCK
29:-
12
09380-25003
CIRCLIP, åtgår 2st
45:-
13
09262-25105
BEARING, LH (25X62X17)
1313:-
14
09390-62012
C RING, CNTR SHAFT BRG RH
99:-
15
09285-20006
SEAL, OIL
84:-
16
24741-27A00
RETAINER, CNTR SHAFT
147:-
17
02122-06123
Denna artikel ersätts av 02122-0612B
18
09263-20049
BEARING, CNTR SHAFT, LH
1109:-
19
04221-07129
PIN
25:-
20
24131-40C11
SHAFT, DRIVE
*
21
24311-48B10
Denna artikel ersätts av 24311-48B20
22
09300-22005
Denna artikel ersätts av 24312-02F00
23
08211-20341
WASHER, RH
30:-
23
09181-20251
SHIM (T:1.0)
43:-
24
08211-22341
WASHER, LH
40:-
24
09181-22223
WASHER, 1ST DRIVEN LH
40:-
25
24321-48B10
GEAR, 2ND DRIVEN (NT:31)
2325:-
26
09300-28002
BUSH, 2ND DRIVEN
288:-
27
08211-28361
WASHER
49:-
27
09181-28167
WASHER, 2ND DRIVEN (28X36X1.0
72:-
28
08331-31286
Denna artikel ersätts av 08331-31289
29
24331-48B03
Denna artikel ersätts av 24331-48B30
30
24332-48B00
Denna artikel ersätts av 24332-48B01
30
24332-48B01
BUSH
610:-
31
09167-28001
WASHER (28.1X38X1.0)
49:-
32
09167-28008
WASHER, LH (T:2)
99:-
33
24341-06B01
Denna artikel ersätts av 24341-06B30
34
24351-48B04
Denna artikel ersätts av 24351-48B05
34
24351-48B05
Denna artikel ersätts av 24351-48B06
35
09263-20040
BEARING, DRIVE SHAFT RH
865:-
36
04221-07209
PIN, DRIVE SHAFT BRG RH
27:-
37
09267-25011
BEARING, DRIVE SHAFT LH
2987:-
38
09390-62012
C RING, CNTR SHAFT BRG RH
99:-
39
09283-34005
SEAL, DRIVE SHAFT OIL
248:-
40
24751-40C01
RETAINER, DRIVE SHAFT
144:-
41
01500-06123
Denna artikel ersätts av 01500-0612A
42
27510-17C10
SPROCKET, ENGINE (NT:15)
1410:-
43
09180-25100
SPACER (25X34X19)
445:-
44
09159-20004
NUT, ENGINE SPROCKET
212:-
45
09167-25019
WASHER (25X40X1.4)
28:-
46
09280-25001
O RING (D:1.0,ID:24.5)
43:-
47
27600-21E20-110
Denna artikel ersätts av 27600-24F50-112
47
27600-21E20-114
Denna artikel ersätts av 27600-24F50-116



* Kontakta kundtjänst för prisuppgift: 018-15 60 00