Suzuki » GSX1100 (GSX1100 G 1991-1993 (USA)) » TURN SIGNAL LAMP

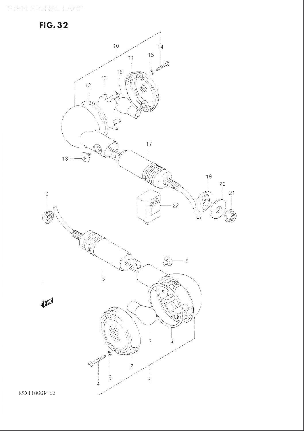
1
35601-26D00
LAMP ASSY, FRONT TURN RH
*
1
35601-26D00
LAMP ASSY, FRONT TURN RH
*
2
35612-38A01
LENS, åtgår 2st
245:-
3
35613-38A00
GASKET, åtgår 2st
222:-
4
03211-04253
Denna artikel ersätts av 03211-0425B
5
35627-43010
GASKET, åtgår 4st
28:-
6
35619-45C00
STAY, TURN LAMP, åtgår 2st
*
7
09471-12128
Denna artikel ersätts av 09471-12057
8
35623-38A01
SCREW, åtgår 2st
95:-
9
08316-20103
Denna artikel ersätts av 08316-2010B
10
35603-45C30
LAMP ASSY, REAR TURN RH
*
10
35603-45C30
LAMP ASSY, REAR TURN RH
*
11
35652-38A21
LENS, åtgår 2st
388:-
12
35613-38A00
GASKET, åtgår 2st
222:-
13
35654-38A20
REFLECTOR, åtgår 2st
1667:-
14
03211-04253
Denna artikel ersätts av 03211-0425B
15
35627-43010
GASKET, åtgår 4st
28:-
16
09471-12045
BULB (12V,21W), åtgår 2st
115:-
17
35659-45C00
STAY, TURN LAMP, åtgår 2st
*
18
35623-38A01
SCREW, åtgår 2st
95:-
19
35695-17C00
SPACER, REAR TURNSIGNAL LAMP, åtgår 2st
55:-
20
09160-10094
WASHER, åtgår 2st
45:-
21
08316-20103
Denna artikel ersätts av 08316-2010B
21
08310-00107
NUT, åtgår 2st
33:-
22
38610-31X50
RELAY, TURN SIGNAL
967:-



* Kontakta kundtjänst för prisuppgift: 018-15 60 00