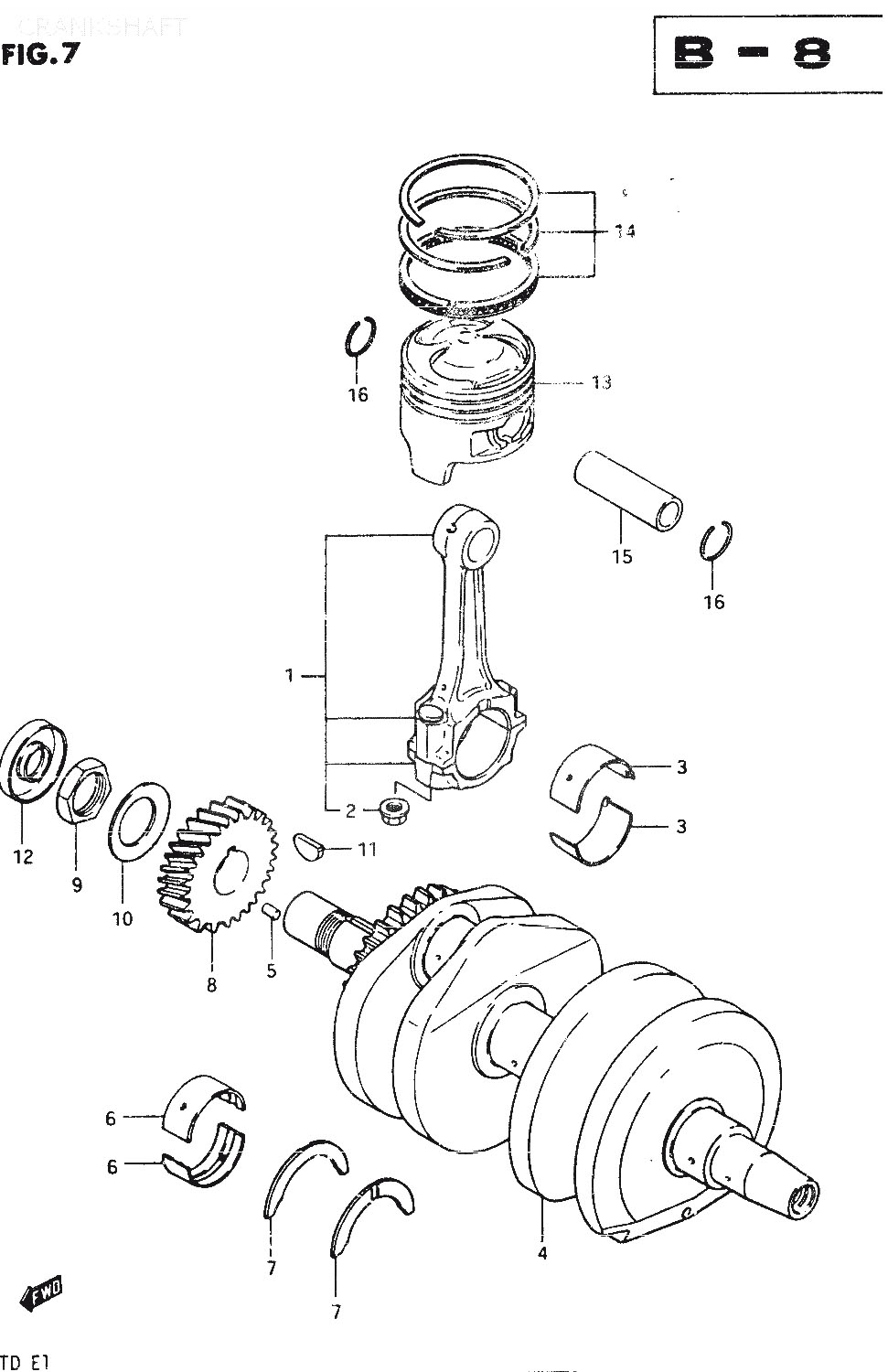
Suzuki » GSX400 (GSX400 1983 (TD)) » CRANKSHAFT

1
12160-44100
(12160-44101) ROD ASSY, CONNECTING, åtgår 2st
1750:-
2
09159-08033
NUT, åtgår 4st
43:-
3
12164-44110-010
BEARING, CRANK PIN (GREEN), åtgår 4st
*
3
12164-44110-020
Denna artikel ersätts av 12164-01D01-0B0
3
12164-44110-030
Denna artikel ersätts av 12164-01D01-0C0
3
12164-44110-040
Denna artikel ersätts av 12164-01D01-0D0
3
12164-44100-025
BEARING, CRANK PIN (US:0.25), åtgår 4st
255:-
3
12164-44100-050
BEARING, CRANK PIN (US:0.5), åtgår 4st
255:-
4
12220-44101
Denna artikel ersätts av 12220-44102
5
06211-03052
Denna artikel ersätts av 04221-03059
6
12229-44100-010
Denna artikel ersätts av 12229-01D01-0A0
6
12229-44100-020
Denna artikel ersätts av 12229-01D01-0B0
6
12229-44100-030
Denna artikel ersätts av 12229-01D00-0C0
6
12229-44100-040
Denna artikel ersätts av 12229-01D01-0D0
6
12229-44100-025
BEARING, CRANKSHAFT (US:0.25), åtgår 8st
160:-
6
12229-44100-050
BEARING, CRANKSHAFT (US:0.5), åtgår 8st
215:-
7
12228-44106
BEARING, THRUST, åtgår 2st
147:-
8
21111-44100
GEAR, PRIMARY DRIVE (NT:28)
1112:-
9
09140-24007
NUT, PIVOT LOCK
52:-
10
09164-25001
WASHER
65:-
11
08341-31059
KEY, WOODRUFF
40:-
12
09283-22013
Denna artikel ersätts av 09283-22015
13
12111-44202
PISTON (STD), åtgår 2st
1535:-
13
12111-44202-050
Denna artikel ersätts av 12103-44820-050
13
12111-44202-100
PISTON (OS:1.0), åtgår 2st
*
14
12140-45410
Denna artikel ersätts av 12140-31311
14
12140-45410-050
PISTON RING SET (OS:0.5), åtgår 2st
*
14
12140-45410-100
Denna artikel ersätts av 12140-31311-100
15
12151-44201
Denna artikel ersätts av 12151-00B20
16
0938118002A
CIRCLIP, åtgår 4st
*



* Kontakta kundtjänst för prisuppgift: 018-15 60 00