Suzuki » GSX550 (GSX550 1985 (EF)) » AIR CLEANER

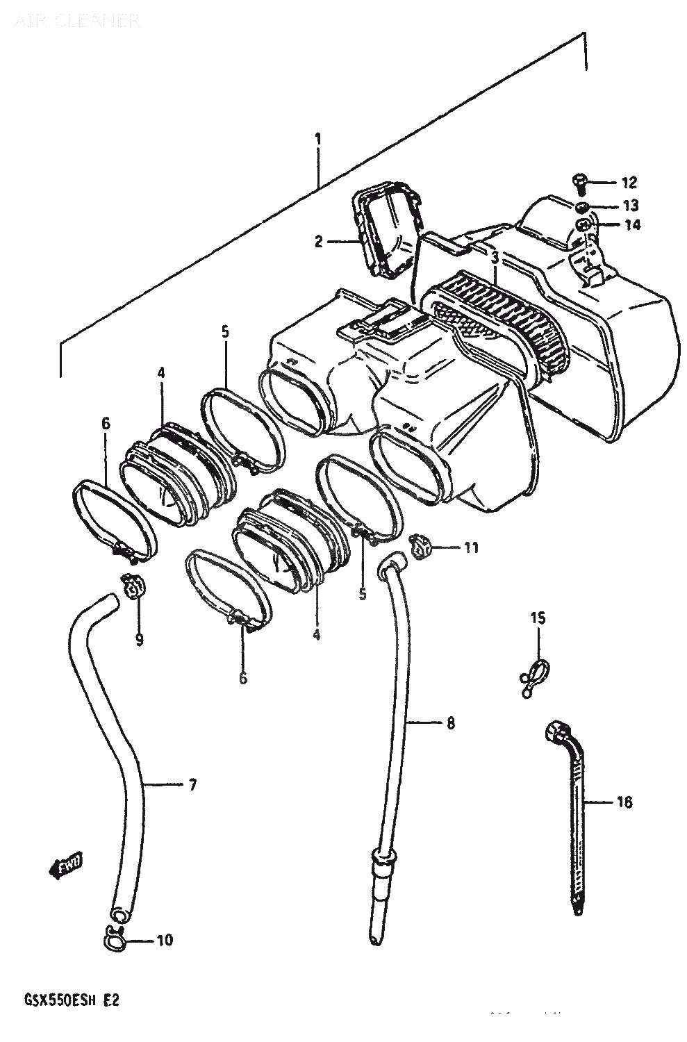
1
13700-43413
CLEANER ASSY, AIR
*
2
13740-43400
CAP
*
3
13780-43400
FILTER
*
4
13881-43402
TUBE, OUTLET, åtgår 2st
410:-
5
13827-43401
CLAMP, CLEANER SIDE, åtgår 2st
*
6
13826-43401
CLAMP, CARBURETOR SIDE, åtgår 2st
*
7
13853-43400
HOSE, BREATHER
*
8
13870-21351
TUBE, DRAIN
*
9
13824-43400
CLIP
*
10
13828-00020
CLIP
*
11
13825-43400
CLIP
*
12
01107-06167
Denna artikel ersätts av 01500-06167
13
08321-21067
Denna artikel ersätts av 08321-01067
14
08322-21067
Denna artikel ersätts av 08322-0106A
15
09408-00021
CLIP (D:16)
16:-
16
09407-18402
CLAMP (L:165), åtgår 2st
33:-



* Kontakta kundtjänst för prisuppgift: 018-15 60 00