Suzuki » RGV250 (RGV250 1993 (P)) » EXHAUST VALVE

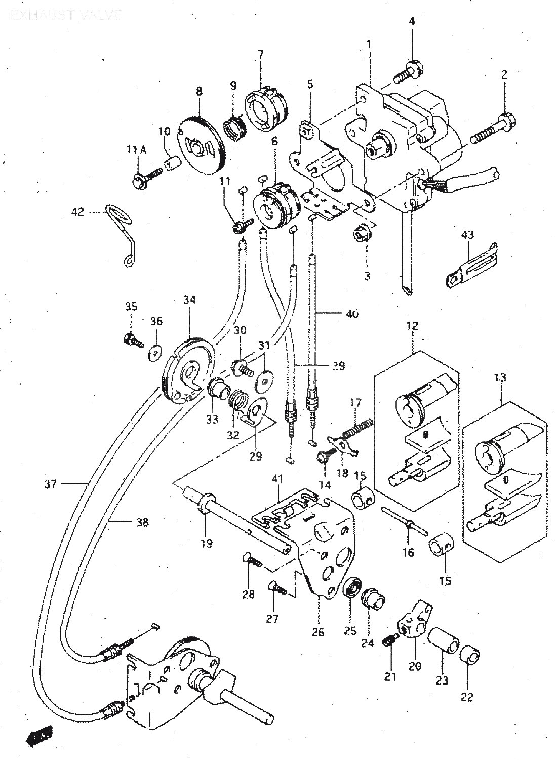
1
33970-22X50
ACTUATOR ASSY, EXHAUST VALVE
*
2
01550-06303
Denna artikel ersätts av 01550-0630A
3
08316-10063
Denna artikel ersätts av 08316-1006A
4
01547-06163
Denna artikel ersätts av 01547-0616B
5
11286-12C01
BRACKET, CABLE
*
5
11286-22D10
BRACKET, CABLE
*
6
11269-12C02
PULLEY, CONTROLLER
*
7
11269-22D00
PULLEY, CONTROLLER
603:-
8
16611-22D10
PULLEY, CONTROLLER NO.2
*
9
16613-22D00
SPRING
85:-
10
09180-05043
SPACER
*
11
07120-05168
BOLT
*
11
09118-05004
BOLT (5X30)
39:-
12
11250-19810
VALVE SET, EXHAUST RH, åtgår 2st
3645:-
12
11250-19830
VALVE SET, EXHAUST RH, åtgår 2st
*
12
11206-19D31
VALVE SET, EXHAUST RH, åtgår 2st
*
13
11250-19820
VALVE SET, EXHAUST LH, åtgår 2st
3645:-
13
11250-19840
VALVE SET, EXHAUST LH, åtgår 2st
*
13
11207-19D31
VALVE SET, EXHAUST LH, åtgår 2st
4335:-
14
02142-15127
Denna artikel ersätts av 02142-0512B
14
02142-05123
Denna artikel ersätts av 02142-0512B
15
11263-12C01
SPACER, EXHAUST VALVE, åtgår 4st
517:-
15
11263-08D11
SPACER, EXHAUST VALVE, åtgår 4st
293:-
16
11253-01B31
Denna artikel ersätts av 11253-01B32
17
09440-03010
SPRING, åtgår 4st
53:-
18
11274-22D01
RETAINER, EXH VALVE SPRING, åtgår 2st
167:-
19
11258-12C02
SHAFT, EX VALVE, åtgår 2st
1125:-
20
11264-00B23
Denna artikel ersätts av 11264-00B24
21
09134-06013
SCREW (6X10), åtgår 2st
60:-
22
09300-08016
BUSH, åtgår 2st
44:-
23
11283-12C00
SPACER, EXH VALVE SHAFT, åtgår 2st
84:-
24
11265-12C00
BUSH, EXHAUST VALVE NO. 2, åtgår 2st
138:-
25
09282-08001
OIL SEAL (8*16*5), åtgår 2st
49:-
25
09282-08004
OIL SEAL (8X16X5), åtgår 2st
110:-
26
11259-22D01
RETAINER, OIL SEAL, åtgår 2st
273:-
27
02122-06127
SCREW, åtgår 2st
35:-
27
02122-06123
Denna artikel ersätts av 02122-0612B
28
09126-06011
SCREW, DRIVE SHAFT (6X12), åtgår 2st
28:-
29
11267-12C02
LEVER, EXHAUST VALVE, åtgår 2st
190:-
30
09125-06058
Denna artikel ersätts av 09125-06058-XC0
31
08211-06222
WASHER, åtgår 2st
27:-
32
11285-22D00
SPRING, EX VALVE LEVER, åtgår 2st
119:-
33
11268-22D03
SPACER, EX VALVE PULLEY, åtgår 2st
274:-
34
11266-22D01
PULLEY, EX VALVE, åtgår 2st
1019:-
35
01137-05128
BOLT, åtgår 2st
*
35
09118-05005
BOLT (5X12), åtgår 2st
53:-
36
09160-05005
Denna artikel ersätts av 09160-05047
37
11276-12C02
CABLE, EX VALVE FRONT RH
419:-
38
11278-12C00
CABLE, EX VALVE FRONT LH
419:-
39
11277-22D01
CABLE, EX VALVE REAR RH
260:-
40
11279-22D01
CABLE, EX VALVE REAR LH
294:-
41
11284-12C00
STOPPER, CABLE, åtgår 2st
153:-
42
11275-22D01
GUIDE, EX VALVE CABLE
*
43
09404-06403
Denna artikel ersätts av 09404-06413



* Kontakta kundtjänst för prisuppgift: 018-15 60 00