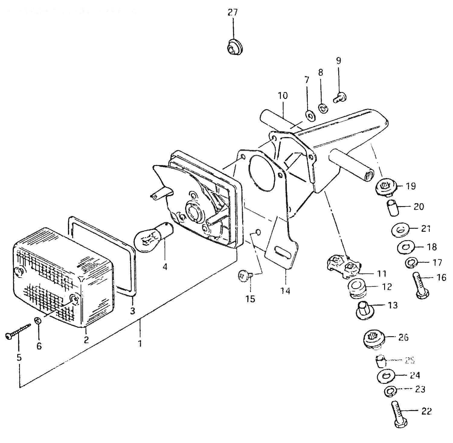
Suzuki » TS125 (TS125 1980 (ERT)) » REAR COMBINATION LAMP (E16)

1
35720-30960
LAMP UNIT, TAIL
*
2
35712-48523
Denna artikel ersätts av 35712-48524
3
35713-48510
.GASKET
164:-
4
09471-06042
BULB (6V,21/5W)
*
5
03211-04308
Denna artikel ersätts av 03211-04306
6
35627-43010
GASKET, åtgår 2st
28:-
7
08322-21058
Denna artikel ersätts av 08322-01057
8
08321-21058
Denna artikel ersätts av 08321-01057
9
02112-05128
Denna artikel ersätts av 02112-05127
10
35730-48590
BRACKET ASSY
*
11
35716-30950
PLATE
539:-
12
35765-30950
CUSHION, åtgår 2st
355:-
13
35766-30950
SPACER, åtgår 2st
33:-
14
35927-48590
PLATE, LICENSE
*
15
02142-05087
SCREW
22:-
16
01107-06308
Denna artikel ersätts av 01500-06307
17
08321-21068
Denna artikel ersätts av 08321-01067
18
09160-06027
Denna artikel ersätts av 09160-06077
19
09320-09010
CUSHION
37:-
20
09180-06072
Denna artikel ersätts av 09180-06271
21
09320-09003
CUSHION
34:-
22
01107-06408
Denna artikel ersätts av 01500-06403
23
08321-21068
Denna artikel ersätts av 08321-01067
24
09160-06027
Denna artikel ersätts av 09160-06077
25
09180-06006
SPACER, åtgår 2st
25:-
26
09320-09010
CUSHION, åtgår 2st
37:-
27
09308-07004
GROMMET
29:-



* Kontakta kundtjänst för prisuppgift: 018-15 60 00