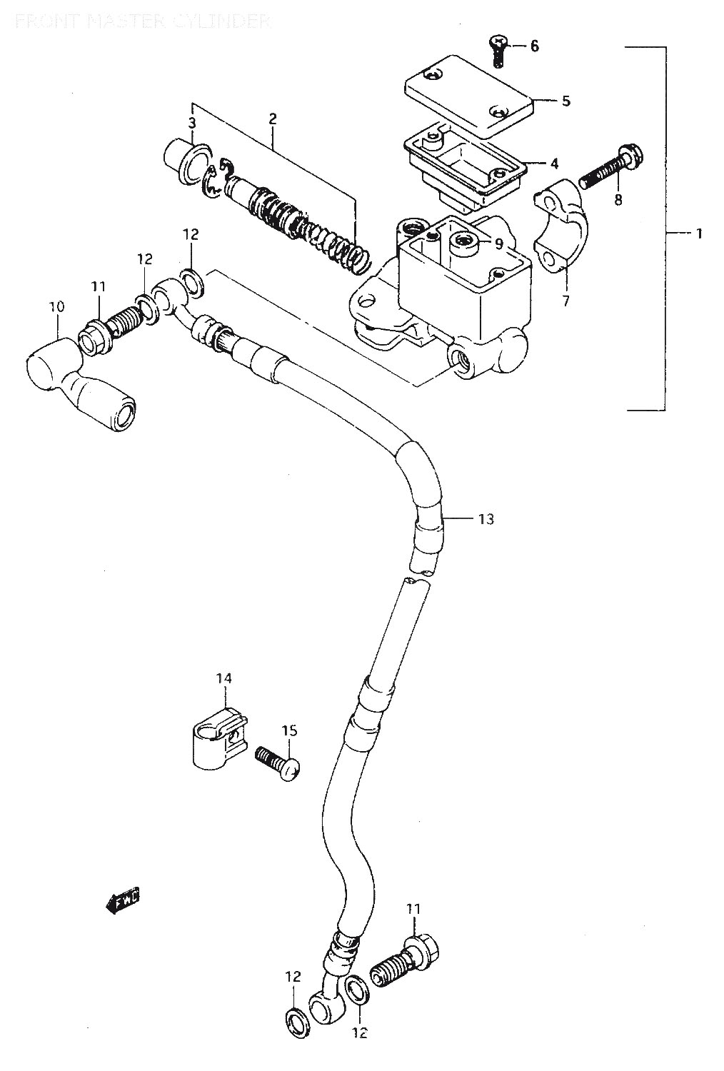
Suzuki » TS125 (TS125 1994 (RR)) » FRONT MASTER CYLINDER

1
59600-03D00
CYLINDER ASSY, FRONT MASTER
*
2
69600-38810
PISTON/CUP SET
467:-
3
59666-44300
.BOOT
50:-
4
59667-44B00
DIAPHRAGM
89:-
5
59669-03D00
CAP
160:-
6
02122-04128
Denna artikel ersätts av 02122-04123
7
59671-03D00
HOLDER
190:-
8
59675-27C00
BOLT, åtgår 2st
30:-
9
59748-14500
SEPARATOR
89:-
10
59711-04700
BOOT, CLUTCH MASTER
182:-
11
09360-10017
Denna artikel ersätts av 09360-10061
11
09360-10039
Denna artikel ersätts av 09360-10061
12
09161-10009
WASHER (10X15X1.5), åtgår 4st
30:-
13
59480-03D01
HOSE, FRONT BRAKE (L:1385)
*
13
59480-03D21
HOSE, FRONT BRAKE (L:1345)
*
13
59480-03D31
HOSE, FRONT BRAKE (L:1355)
*
14
58621-07A10
Denna artikel ersätts av 58621-07A20
15
02112-06167
SCREW
20:-
15
02142-06163
Denna artikel ersätts av 02142-0616A



* Kontakta kundtjänst för prisuppgift: 018-15 60 00