Triumph » Speed Triple () » Framgaffel/Styrkrona

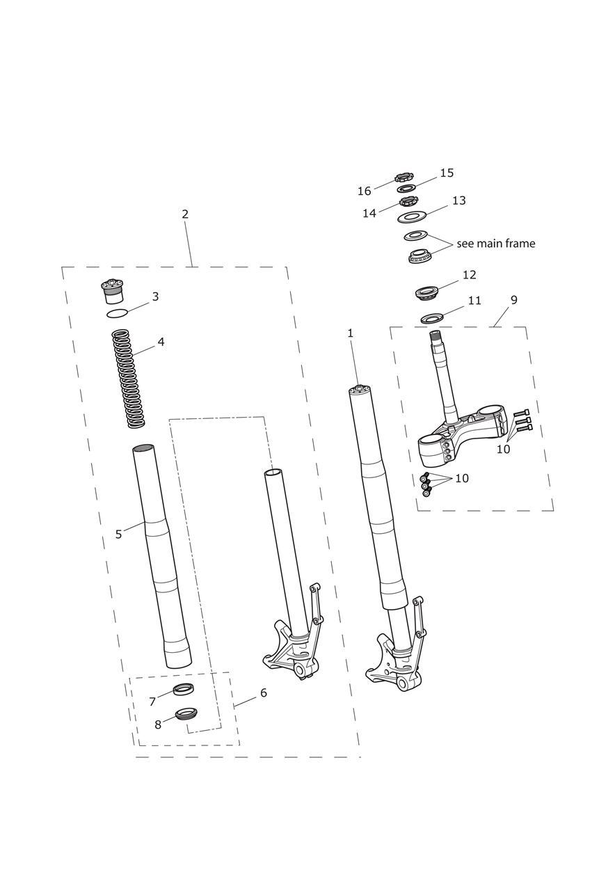
3
T2040691
O-Ring, Top Cap, åtgår 2st
170:-
4
T2040688
Spring, Fork, åtgår 2st
3650:-
5
T2040706
Outer Tube Assembly, åtgår 2st
N/A to Speed 94R
16855:-
5
T2041431
Outer Tube Assembly, Black, åtgår 2st
Speed 94R Only
16980:-
6
T2041072
Seal Kit, Front Forks, åtgår 2st
1845:-
7
T2040683
Oil Seal, åtgår 2st
510:-
8
T2041074
Dust Seal, åtgår 2st
545:-
9
T2048460
Lower Yoke Assembly, Black
602553 >
6380:-
10
T3050312
Screw, Skt, Cap, M8 x 30, S/S, åtgår 6st
60:-
11
T3600234
Dust Seal, Dia 55
105:-
12
T3800091
Bearing, Sac
410:-
13
T2046559
Cover, Headstock Bearing
190:-
14
T2040301
Adjuster Nut, M30, Lower
500:-
16
T2040304
Locknut, M30
350:-