Triumph » Speed Triple () » Tändsystem

11009
11009-1145
GASKET,RESERVE TANK
21:-
11012
11012-1084
Denna artikel ersätts av 11065-0969
14075
14075-1068
CAP-ASSY
1575:-
16160
16160-1116
Denna artikel ersätts av 14075-1068
16160
16160-1147
BODY,THERMOSTAT
296:-
16160
16160-1149
BODY, THERMOSTAT, LWR
630:-
39062
39062-1280
Denna artikel ersätts av 39062-1144
39062
39062-1291
Denna artikel ersätts av 39062-1430
43056
43056-003
Denna artikel ersätts av 43085-001
43078
43078-1090
Denna artikel ersätts av 43078-1110
49054
49054-1051
Denna artikel ersätts av 49054-0003
49054
49054-1060
THERMOSTAT
451:-
49085
49085-1054
Denna artikel ersätts av 49085-1067
92005
92005-1176
FITTING, THERMOSTAT BODY
111:-
92009
92009-1308
Denna artikel ersätts av 92009-1288
92037
92037-147
CLAMP,CHAIN OILER, åtgår 3st
60:-
92055
92055-091
"O" RING,RELEASE PLUG
54:-
92055
92055-112
"0" RING,53.5MM
58:-
92066
92066-1183
PLUG,SENSOR WATER
569:-
92150
92150-1071
Denna artikel ersätts av 120T0555
92150
92150-1179
BOLT, SOCKET, 5X70, åtgår 2st
41:-
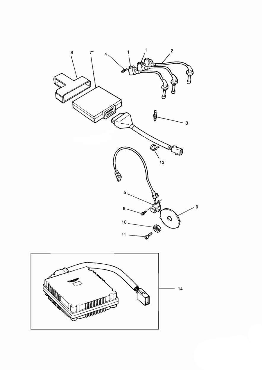
1
T1290046
Ignition coil, åtgår 3st
4810:-
2
1290013-T0301
Ignition cable
Set
2750:-
3
43-DPR8EA-9
Spark Plug, DPR8EA-9, åtgår 3st
Standard NGK DPR 9 EA-9
60:-
4
T3330728
Screw, Pan/Hd, Tx, M5 x 16, Enc, åtgår 4st
20:-
5
T1290022
Sensor
Ignition
4810:-
6
T3331042
Screw, Pan/Hd, Tx, M6 x 12, Enc, åtgår 2st
25:-
9
T1290110
Rotor
305:-
10
1100039-T0301
Clamping piece
190:-
13
T3700016
Cable Tie, 370 Long
20:-