Triumph » Sprint () » Fotbroms

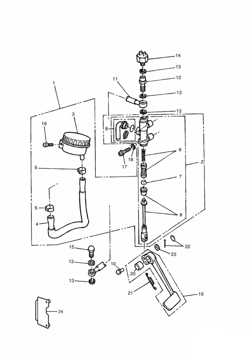
5
2020440-T0301
Clip, Reservoir, M/Cyl, Rear, åtgår 2st
50:-
6
T2020031
Piston Set
1065:-
7
T2020472
Circlip, M/Cyl Rear
50:-
8
2020476-T0301
Connector Set, M/Cyl Rear
355:-
10
T3000012
CLEVIS PIN
34705 » 8mm
40:-
13
T3550229
Washer, Banjo, åtgår 5st
» 18627
20:-
14
T2023120
Switch, Rear Brake
680:-
15
T3250125
Bolt, Banjo, M10 x 21
115:-
17
T3202118
Bolt, RHHF, M8 x 1.25 x 45, Slv, åtgår 2st
30:-
18
T3550013
Washer, åtgår 2st
20:-
19
T2080316
Brake pedal
1255:-
20
3750005-T0301
Bush
115:-
21
2020029-T0301
Spring
40:-
22
3000080-T0301
Clip
» 34704
20:-
22
T3000302
Clip, 8mm, Clevis Pin
34705 »
100:-
23
T3550013
Washer
34705 »
20:-