Kawasaki » Z900 (Z1) (Z1 1973 USA) » SEAT/CHAIN COVER

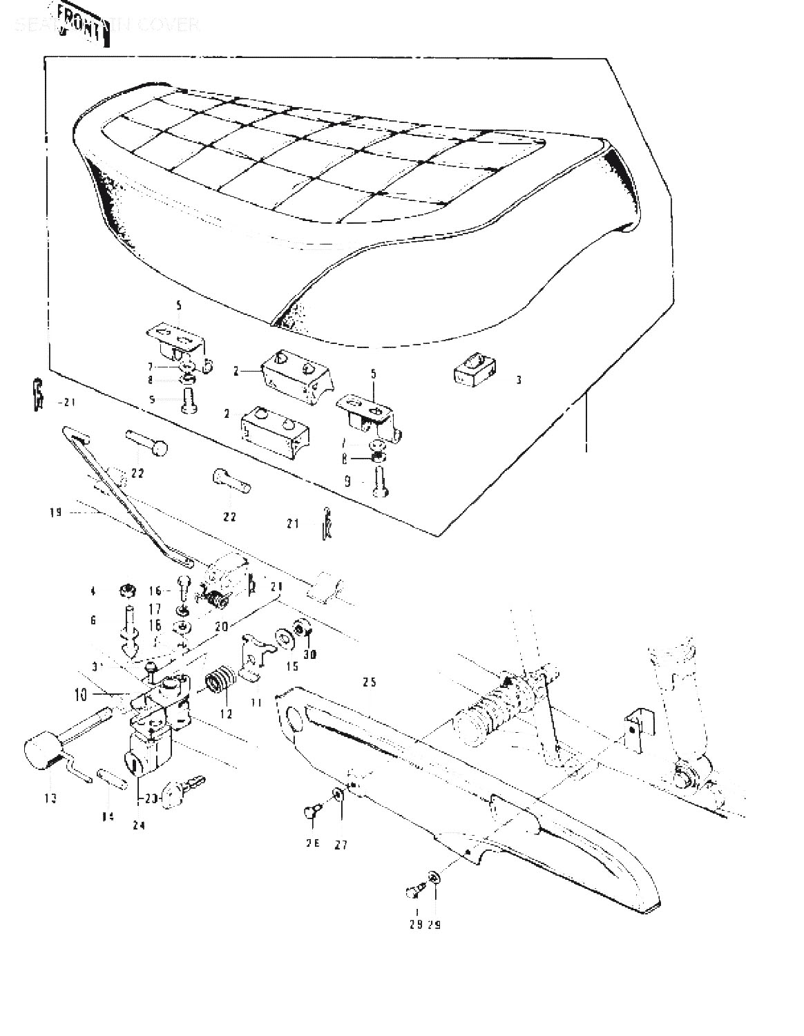
1
53001-076
SEAT-ASSY,DUAL
*
2
92075-139
DAMPER RUBBER,SEAT, åtgår 4st
83:-
3
92075-099
DAMPER RUBBER
50:-
4
312B0-800
NUT 8MM
*
5
53009-017
Denna artikel ersätts av 53009-017-10
6
53056-001
LOCK,DUAL SEAT
212:-
7
411B0-600
WASHER PLAIN 6MM, åtgår 4st
*
8
461F0-600
WASHER SPRING 6MM, åtgår 4st
*
9
116B0-614
BOLT HEX HEAD 6X14, åtgår 4st
*
10
53050-001
BODY,SEAT LOCK
138:-
11
53051-001
PLATE,SEAT LOCK
*
12
53053-001
SPRING,SEAT LOCK LEVR
*
13
53052-001
LEVER,SEAT LOCK
747:-
14
92102-011
CAP,LEVER
32:-
15
92088-017
WASHER,LOCK
20:-
16
110N0-616
BOLT-HEX HEAD,6X16, åtgår 2st
110:-
17
461F0-600
WASHER SPRING 6MM, åtgår 2st
*
18
411B0-600
WASHER PLAIN 6MM, åtgår 2st
*
19
53054-001
HOOK SEAT
110:-
20
53055-001
Denna artikel ersätts av 92081-1053
21
92041-003
Denna artikel ersätts av 554A0600
22
53011-002
PIN, åtgår 2st
50:-
24
27030-001
LOCK ASSY,SEAT
685:-
25
36014-061
CASE-CHAIN
*
26
110N0-618
BOLT HEX HEAD 6X18
110:-
27
92022-125
Denna artikel ersätts av 92200-0283
28
92001-115
BOLT,HEAX HEAD,6X14
*
29
92022-1561
WASHER,8.5X20X1.6
40:-
30
132B0-600
UNAVAILABLE IN PRICE BOOK
*
31
220B0-514A
SCREW PAN HEAD 5X14, åtgår 2st
*



* Kontakta kundtjänst för prisuppgift: 018-15 60 00