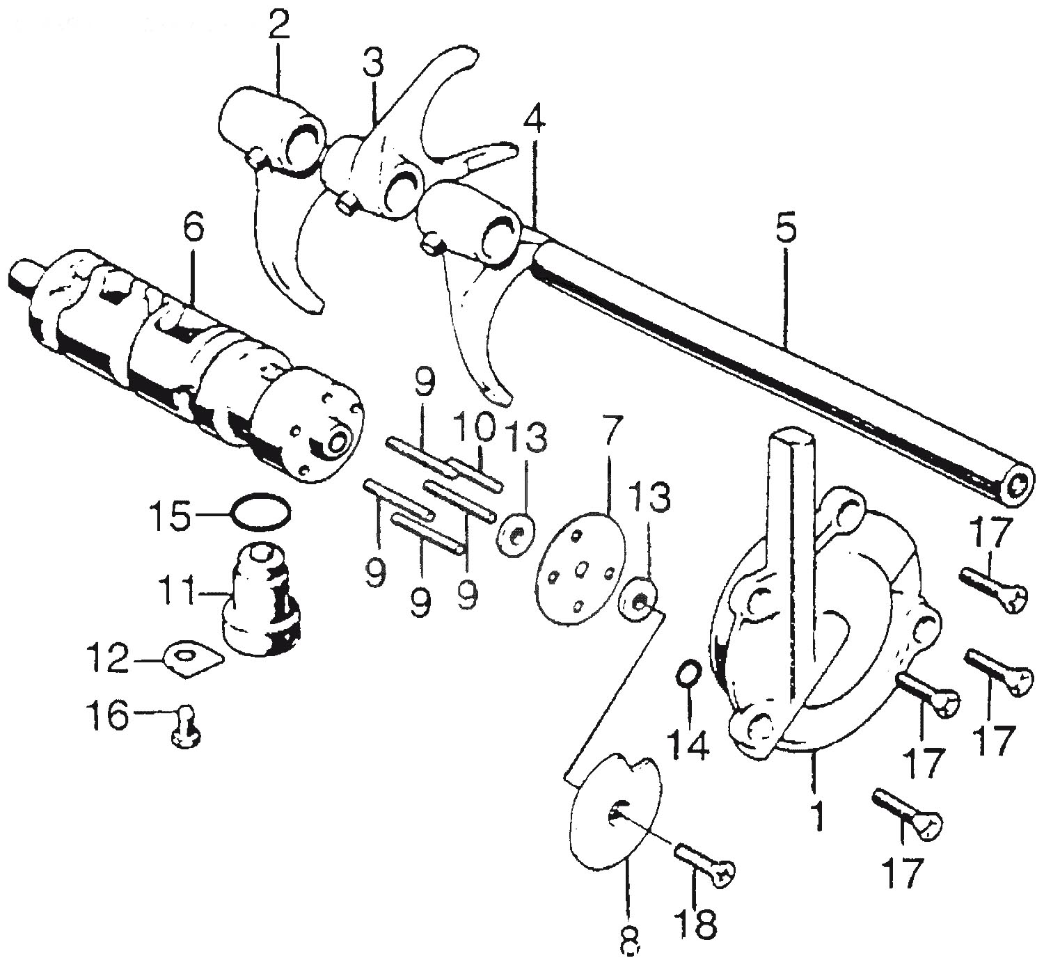
Honda » CB750 (FOUR) (CB750 FOUR K3 USA) » GEARSHIFT FORK / DRUM

1
23150-300-010
HOLDER,SHAFT
696:-
2
24211-300-020
FORK,RIGHT SHIFT
689:-
3
24212-300-020
(24212-300-030) FORK,CENTER SHIFT
*
3
24212-300-030
FORK,CENTER GEAR
*
4
24213-300-020
FORK,LEFT SHIFT
*
5
24261-300-030
SHAFT,SHIFT FORK
*
6
24301-300-030
(24301-300-040) DRUM,GEAR SHIFT
*
6
24301-300-040
DRUM,GEAR SHIFT
*
7
24438-300-000
PLATE,SPACER
92:-
8
24441-300-020
PLATE,STOPPER
*
9
24443-300-000
ROLLER,4X23,8, åtgår 4st
*
10
24444-300-000
Denna artikel ersätts av 9622040208
10
96220-40208
ROLLER,4X20.8
15:-
11
35752-300-010
Denna artikel ersätts av 35752300020
11
35752-300-020
SWITCH,NEUTRAL
722:-
12
35754-300-020
STOPPER,SWITCH
*
13
90436-300000
WASHER,20MM, åtgår 2st
*
14
91301-283000
O-RING,5X2.4
45:-
14
91301-283005
O-RING,5X2.4
51:-
14
91301-393000
O-RING,5X2.5
45:-
14
91301-426010
O-RING,4.9X2.5
51:-
15
91307-KF0003
O-RING 18X3
35:-
15
91307-035000
ORING 183
35:-
15
91311-044000
ORING 183
35:-
16
92000-06016
BOLT,HEX., 6X16
10:-
16
92000-060160A
BOLT,HEX 6X16
880:-
16
92000-060161A
BOLT,HEX.,6X16
880:-
16
92100-060160A
BOLT,HEX.,6X16
15:-
16
92101-060160A
BOLT,HEX.,6X16
880:-
16
92200-060160A
BOLT,HEX,6X16
880:-
17
93600-06020
SCREW, FLAT, 6X20, åtgår 4st
15:-
17
93600-060200A
SCREW CROSS 6X20, åtgår 4st
921:-
18
93600-06025
SCREW CROSS 6X25
*
18
93600-060250A
SCREW,FLAT,6X25
*



* Kontakta kundtjänst för prisuppgift: 018-15 60 00